旋压原理示意图

旋压原理
图片尺寸560x492
缩径旋压
图片尺寸444x468
旋压,了解一下
图片尺寸540x257
浙江srlvt系列无油涡旋式空压机
图片尺寸930x312
旋转式压缩机
图片尺寸2021x2640
强力旋压 - 搜狗百科
图片尺寸574x330
图1 偏心件旋压成形工艺示意图 fig.
图片尺寸1748x953
涡旋压缩机发展历程,工作原理和技术优势分析
图片尺寸545x469
cn110234880a_涡旋式压缩机
图片尺寸1774x2492
强力旋压
图片尺寸643x283
图16-3 电动变频涡旋压缩机工作原理
图片尺寸600x497
变薄旋压
图片尺寸768x617
cn108296338a_一种数字伺服控制旋压机在审
图片尺寸1873x1564
想要冷库长效稳定运行选艾默生谷轮64涡旋冷冻专用压缩机准没错
图片尺寸366x414
旋压工艺原理
图片尺寸1082x724
旋叶式压缩机的工作原理及工作过程
图片尺寸1606x700
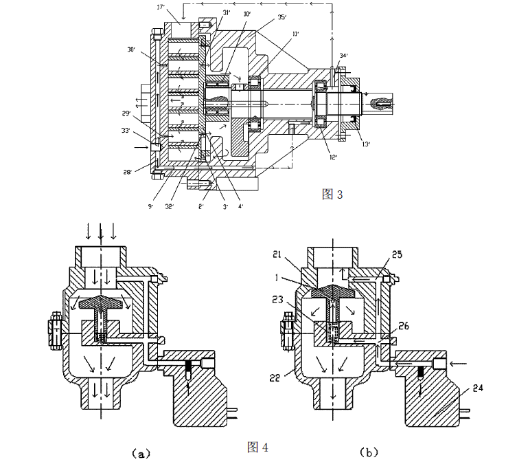
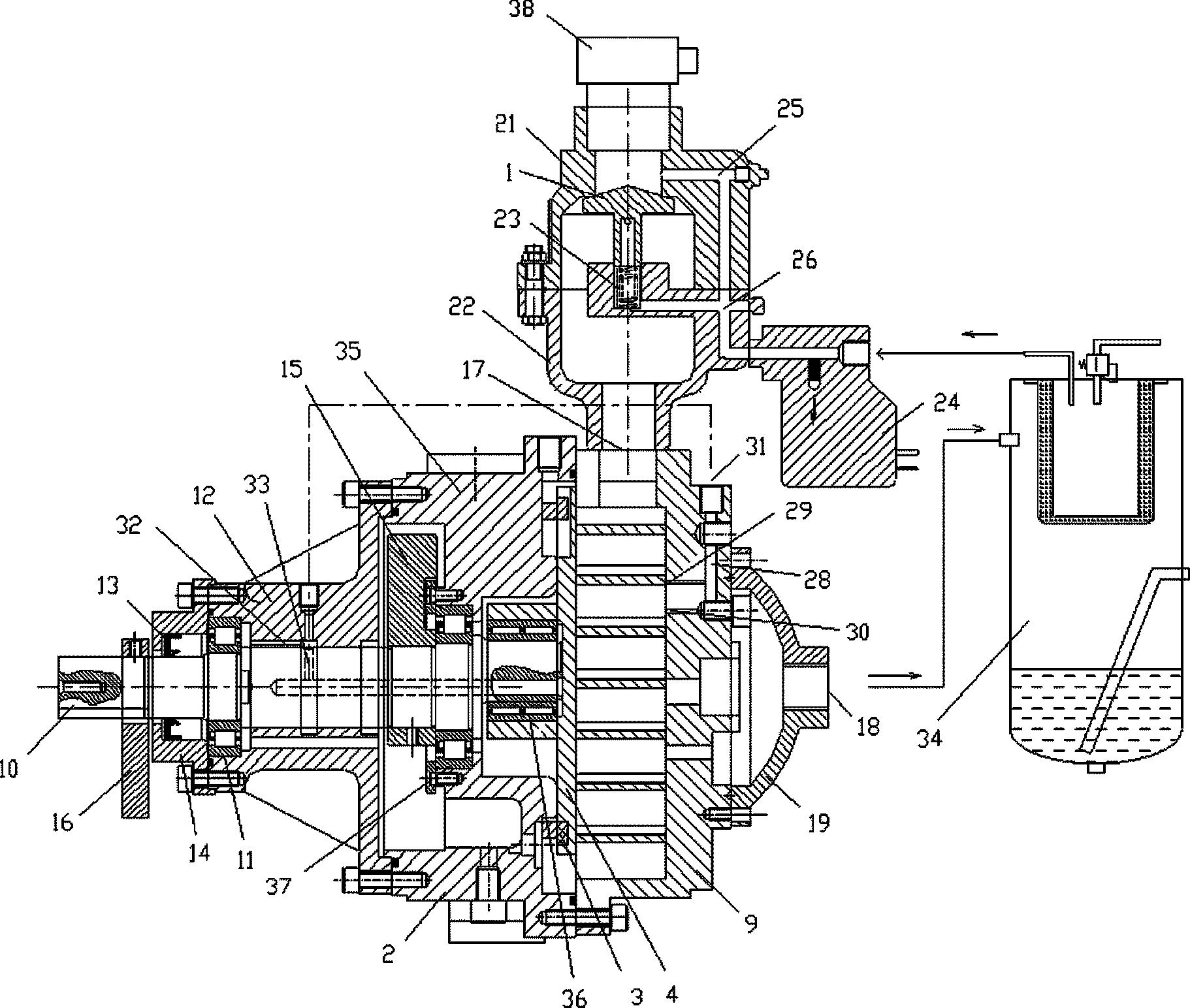
一种涡旋式空气压缩机
图片尺寸753x672
一种涡旋式空气压缩机
图片尺寸1822x1544
强力旋压
图片尺寸500x400
金属塑性成形原理旋压试验指导书汇总_第4页
图片尺寸2029x2818