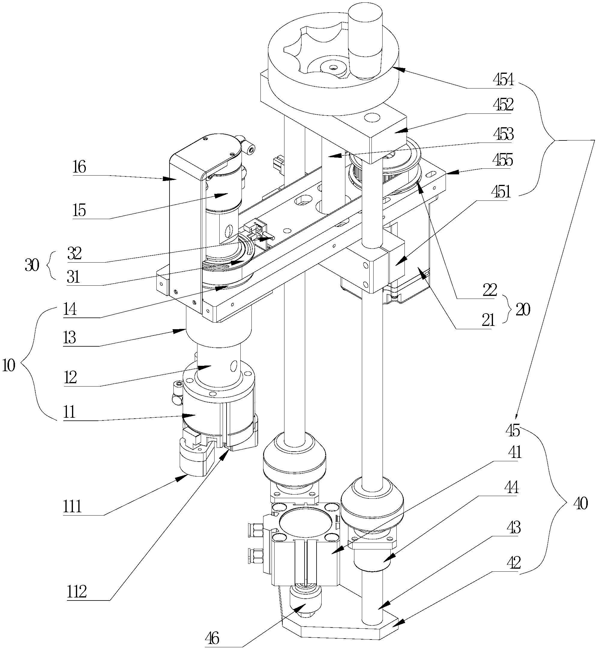
旋盖头拆装图

一种旋盖装置及灌装机
图片尺寸1993x2166
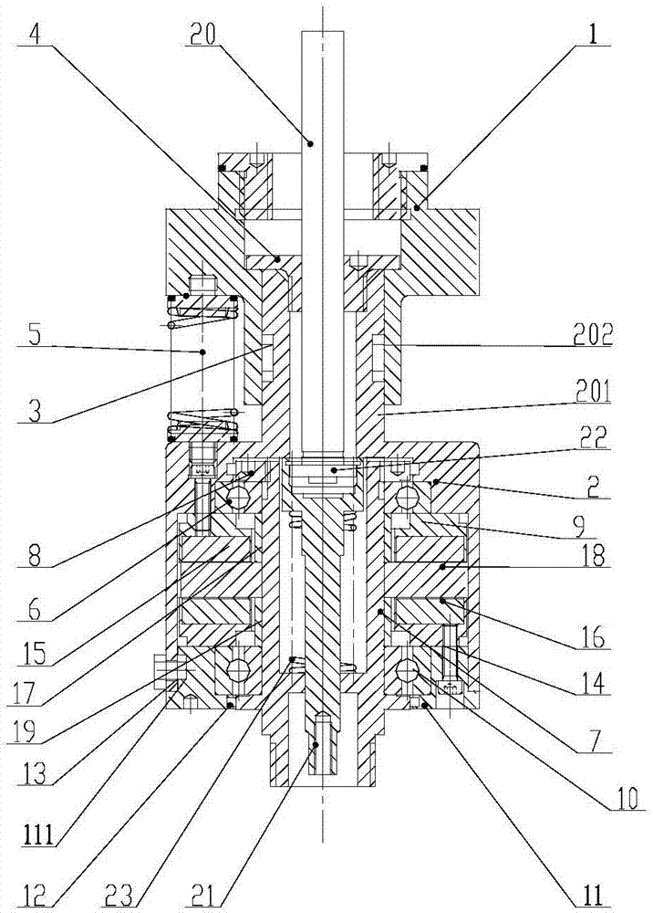
旋盖头
图片尺寸1472x2082
一种旋盖头的制作方法
图片尺寸427x1000
一种恒扭矩旋盖头
图片尺寸716x1000
图片尺寸1000x997
高速回转旋盖机三爪旋盖头
图片尺寸250x517
图片尺寸1920x1440
一种三爪式旋盖头的制作方法
图片尺寸871x1000
专业生产手动白酒瓶盖连续封口机 小型防盗金属铝盖旋盖机可混批
图片尺寸1432x1920
壶盖进水口旋转结构的制作方法
图片尺寸2547x1775
三合一饮料机械灌装机旋盖头灌装机配件旋盖模包装机罐装封口机
图片尺寸1920x1920
压旋盖
图片尺寸1088x1147
自动旋盖机构
图片尺寸533x1000
图片尺寸2160x2880
进口a r 0 l旋盖机改造恒扭矩旋盖总成!丝滑的顶压配置
图片尺寸1440x1920
j557-酒瓶旋盖机设计【说明 9张cad图 sw三维图】 - 抖音
图片尺寸694x798
厂家销售各款旋盖头.拧盖头.拧盖模头模具
图片尺寸1920x1920
一种旋盖机构
图片尺寸1547x1130
旋盖莫旋盖头封口机饮料机械配件小拧盖头三合一灌装机抓盖头
图片尺寸960x1280
一种瓶盖自动型旋盖机
图片尺寸1764x2196