旋转定位装置

高精度旋转定位伺服旋转台sr8024w厂家直销
图片尺寸290x290
机动定位器 / 旋转 / 单轴 / 用于机器人
图片尺寸499x500
想做一个旋转定位机构具体如下
图片尺寸725x529
旋转机构,旋转装置,机械旋转装置,旋转定位装置cr120-3w
图片尺寸1300x1300
直线-旋转定位台
图片尺寸268x208
机构动画——180度间断旋转
图片尺寸468x480![[分享]spinea定位器rotospin旋转组件](https://imgs.wantubizhi.com/img/A1A61BAA66193547F3A6DD7D8EE527E91BF9A96ACD02B560BB357DF08DE72500C464EE55F9CDB07C61B21014CFF8B77697C455FAB347E0583CCB6689671B6A8FE85E095C3726E1467C399CCD5C88874F713C35864811B82E853813101243CC67)
[分享]spinea定位器rotospin旋转组件
图片尺寸1500x1406
中心轴旋转定位装置设计模型图01200612
图片尺寸700x700
kuka roboter gmbh公司kp1-md, kp1-md hw 单轴定位器 / 电动 / 旋转
图片尺寸1453x1453
旋转举升定位机构
图片尺寸530x290
旋转定位试验台夹具 pro/e三维模型
图片尺寸820x468
风叶焊接旋转定位装置
图片尺寸360x302
机械旋转定位
图片尺寸300x264
透析器旋转定位装置
图片尺寸360x350
机械旋转定位
图片尺寸400x379
马达旋转方向定位模型
图片尺寸673x676
一种球管水平旋转定位装置
图片尺寸1877x1872
旋转定位装置模型图
图片尺寸831x390
一种非对称瓶自动旋转定位装置
图片尺寸1473x1602
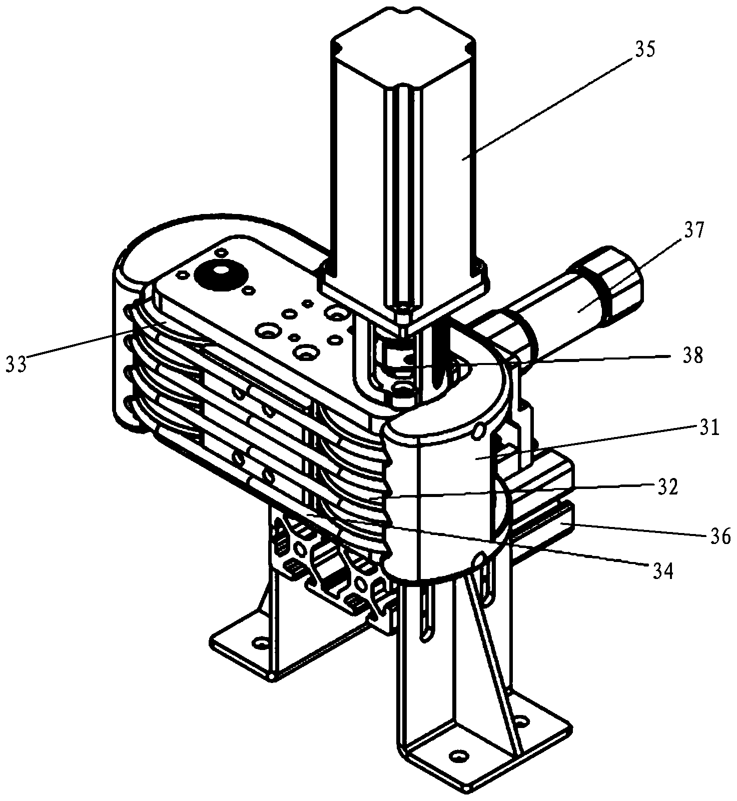
一种医用直线加速器机架齿轮旋转定位装置的制作方法
图片尺寸1000x936