旋转戒指详解结构图

可转动戒指
图片尺寸1080x1080
六字真言足金999旋转戒指时来运转必备
图片尺寸1080x1441
戒指结构及透视图
图片尺寸1080x1042
法式鲍贝戒指可旋转
图片尺寸800x800
cn209883233u_一种旋转戒指有效
图片尺寸989x961
一种旋转戒指的制作方法
图片尺寸1000x988
可转动戒指
图片尺寸1080x1080
旋转转运戒指
图片尺寸1080x1439
旋转满钻戒指
图片尺寸1195x1500
一种旋转戒指的制作方法
图片尺寸443x386
一种可转动的戒指及其转动方法与流程
图片尺寸733x1000
一种转动结构及转动戒指的制作方法
图片尺寸373x443
一种装饰件可旋转的戒指的制作方法
图片尺寸922x1000
crush系列银色沙漏旋转戒指95钻石造型对称镂空结构可旋转的趣味性
图片尺寸1080x1440
今日份男戒推荐可以旋转的戒指
图片尺寸1080x1288
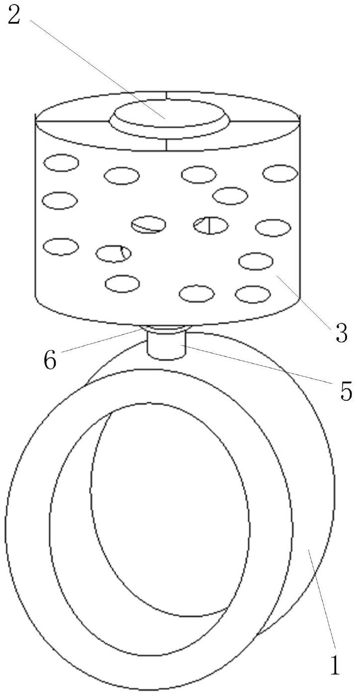
可旋转的戒指,包括戒圈,装饰物;在装饰物的底部设置镂空的套筒状结构
图片尺寸719x1400
一种旋转开花的戒指的制作方法
图片尺寸1000x980
toggler 经典可活动结构设计每款戒指都有自己的movement可旋转,可
图片尺寸960x1280
一种装饰件可旋转的戒指制造技术
图片尺寸860x1000
dr-meilia2024旋转戒指纯银戒指男女款复古活口指环转运解压戒指旋转
图片尺寸350x350