旋转拖把原理图

旋转拖把操作原理示意图
图片尺寸566x418
cn201641905u_伸缩旋转拖把有效
图片尺寸2038x2724
手压式旋转脱水拖把
图片尺寸1218x2667
【厂家直销】批发红黑款双驱动旋转拖把 套装拖布桶拖把 量大价优
图片尺寸790x1123
手压式变速旋转拖把
图片尺寸376x600
cn102210576a_拖把旋转装置失效
图片尺寸1868x2576
对外批发卫誉达拖把好神拖旋转拖把桶双驱动拖把套装旋转拖把
图片尺寸750x1311
cn110946529b_一种重力旋转式双面蒸汽拖把有效
图片尺寸1631x1300
一种旋转挤水式平板拖把
图片尺寸807x1017
cn105640455b_折叠式旋转拖把有效
图片尺寸173x261
低价促销旋转拖把升级版神奇拖把合金踏板小木马四驱动新品推荐
图片尺寸752x1108
一种旋转挤水式平板拖把制造技术
图片尺寸793x1000
快媳妇 好神拖旋转拖把桶套装手压双驱动脱水地板拖布墩布省力免手洗
图片尺寸750x522
一种旋转拖把甩干桶
图片尺寸1548x1583
福万祥正品手压双驱动水魔方旋转拖把神奇甩干拖把桶好神拖拖布
图片尺寸790x1167
一种旋转蒸汽拖把和清洗桶系统的制作方法
图片尺寸327x444
双速旋转拖把桶-爱企查
图片尺寸1442x2554
一种旋转式拖把-爱企查
图片尺寸532x800
一种多功能拖把的制作方法
图片尺寸939x1000
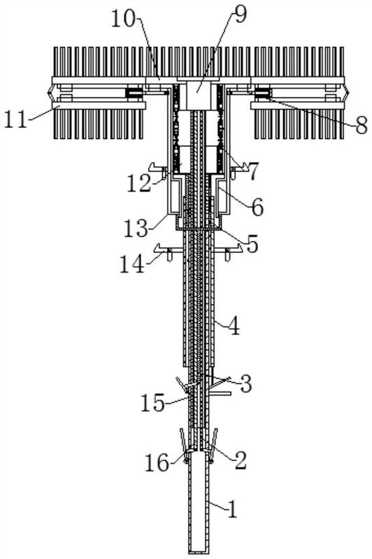
附图
图片尺寸1000x930