旋转接头拆卸图解

浅谈旋转接头的结构及应用
图片尺寸838x474
旋转接头的种类介绍和结构分析
图片尺寸780x300
旋转接头内部结构图大全 1
图片尺寸632x455
复合材料密封旋转接头图解
图片尺寸275x260
旋转接头的制作方法
图片尺寸1000x559
旋转接头内部结构
图片尺寸565x565
日本昭和技研sgk旋转接头的使用方法
图片尺寸604x237
球体转动旋转接头 步进梁式加热炉旋转接头 万向摆动旋转接头
图片尺寸814x501
cn201066007y_一种内管旋转的高速旋转接头失效
图片尺寸1975x1164
可密封的旋转接头的制作方法
图片尺寸1000x740
密封旋转接头
图片尺寸2188x1424
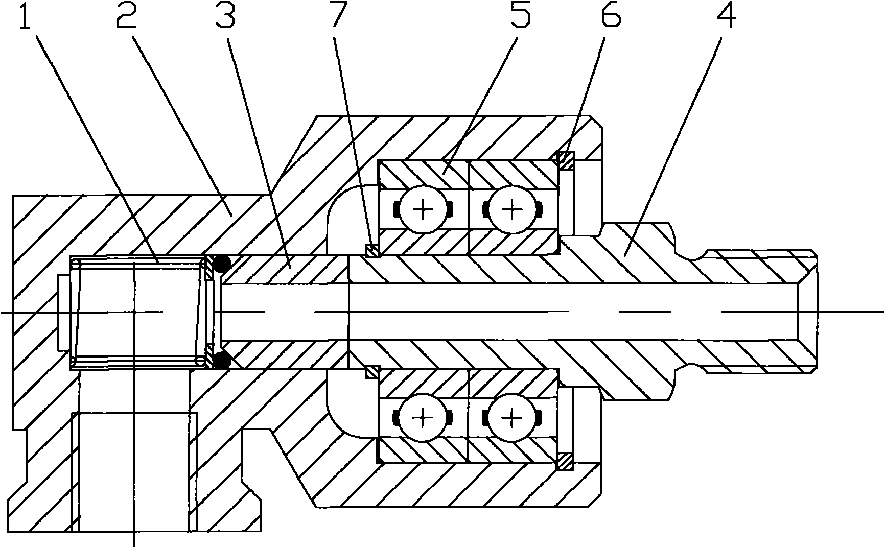
新型旋转接头
图片尺寸1732x1073
一种高密封性的旋转接头的制作方法
图片尺寸1000x492
cn210218983u_新型旋转接头有效
图片尺寸2008x1056
旋转接头的原理和优势以及安装方法
图片尺寸605x375
让rxb型旋转接头寿命更长这三点是关键
图片尺寸2580x1888
cn211219882u_一种中心出水旋转接头的固定结构有效
图片尺寸827x1000
hs-g双向流通式旋转接头360度旋转用于冷却水高速耐高温旋转接头
图片尺寸1423x1920
连铸机大方坯扇形段辊子旋转接头的制作方法
图片尺寸1000x569
锂电行业旋转接头为何都选择贝内克
图片尺寸1328x856