无阀过滤器工作原理

无阀过滤器原理重力,重力式,过滤,过滤器,原理480万注册会员,工作日均
图片尺寸408x492
说明:无阀过滤器是现场拼装并且依靠虹吸原理工作的设备因此在安装
图片尺寸1280x620
重力无阀滤池原理图解
图片尺寸920x1302
无阀滤池的工作原理
图片尺寸600x315
水净化设备 全自动净水器 >湖南益阳重力式无阀净水器无阀过滤器有两
图片尺寸1217x933
sd-无阀过滤器 桑德品质
图片尺寸550x422
全自动过滤器 无动力过滤设备 清水环保污水处理设备
图片尺寸1335x984
无阀过滤器示意图.jpg
图片尺寸800x500
重力式无阀过滤器原理图
图片尺寸619x282
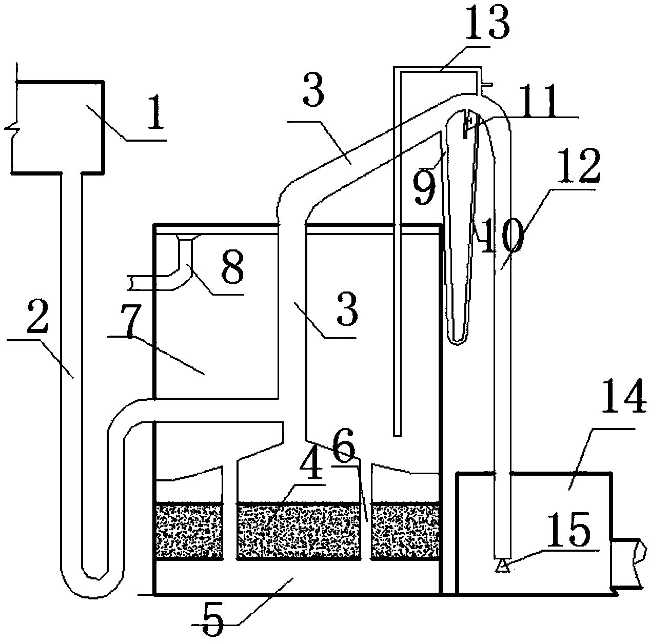
式无阀滤池,包括进水分配槽,进水管,虹吸上升管,虹吸下降管,过滤装置
图片尺寸1267x1251
重力式无阀过滤器-中蓝环保股份有限公司
图片尺寸928x588
诸城美林环保无阀滤池
图片尺寸519x304
各种过滤器原理总结(图片)讲解.docx 15页
图片尺寸993x1404
钢制重力式无阀过滤器系列产品广泛应用于地表水净化,地下水除铁除锰
图片尺寸750x750
游泳池水处理设备 重力式全自动无阀过滤器
图片尺寸843x587
重力式无阀过滤器 大型无阀精滤机 游泳池自动反冲洗设备
图片尺寸680x591
>>石英砂过滤器
图片尺寸600x439
浅析全自动无阀过滤器工作原理
图片尺寸616x528
重力式无阀过滤器
图片尺寸920x690
器应用虹吸原理,采用国内外先进的无阀过滤技术,利用水能进行自动工作
图片尺寸594x304