早拆头

奇建厂家专业供应 建筑工地配件 台模早拆头 模板早拆头 可定制
图片尺寸750x530
"早拆模"是什么施工技术?全面详解!
图片尺寸1080x811
如何合理"早拆模"?四种做法!
图片尺寸407x573
"早拆模"施工技术了解一下!
图片尺寸653x503
顶板后浇带早拆模体系
图片尺寸560x391
楼板早拆头三维图
图片尺寸760x513
本实用新型公开了一种早拆模板体系用的快拆支撑头,它包括早拆头螺杆
图片尺寸1000x633
早拆技术.png
图片尺寸698x524
"早拆模"如何施工?四种做法必须知道! - 知乎
图片尺寸657x459
在本次获认定的产品中,早拆铝模板系统和楼梯观察口铝模板系统是最富
图片尺寸1460x767
建筑施工早拆模板体系如何实现的高效率多图说明附经济效益对比
图片尺寸1116x587
清水混泥土效果 早拆技术 一套铝模体系,包含墙,柱,梁,楼面等标准层
图片尺寸597x335
5早拆技术-梁底板拆除
图片尺寸1200x900
模板早拆头快拆头 新型模板早拆体系
图片尺寸800x800
铝合金模板早拆 一个如此巧妙的做法!
图片尺寸558x415
建筑物标准层早拆体系施工
图片尺寸900x1200
铝合金模板早拆 一个如此巧妙的做法!
图片尺寸640x480
模板支撑架横杆早拆.
图片尺寸760x495
日本的早拆模板体系,所有立杆全部不相互连接,利用柱墙模板的刚度来
图片尺寸963x723
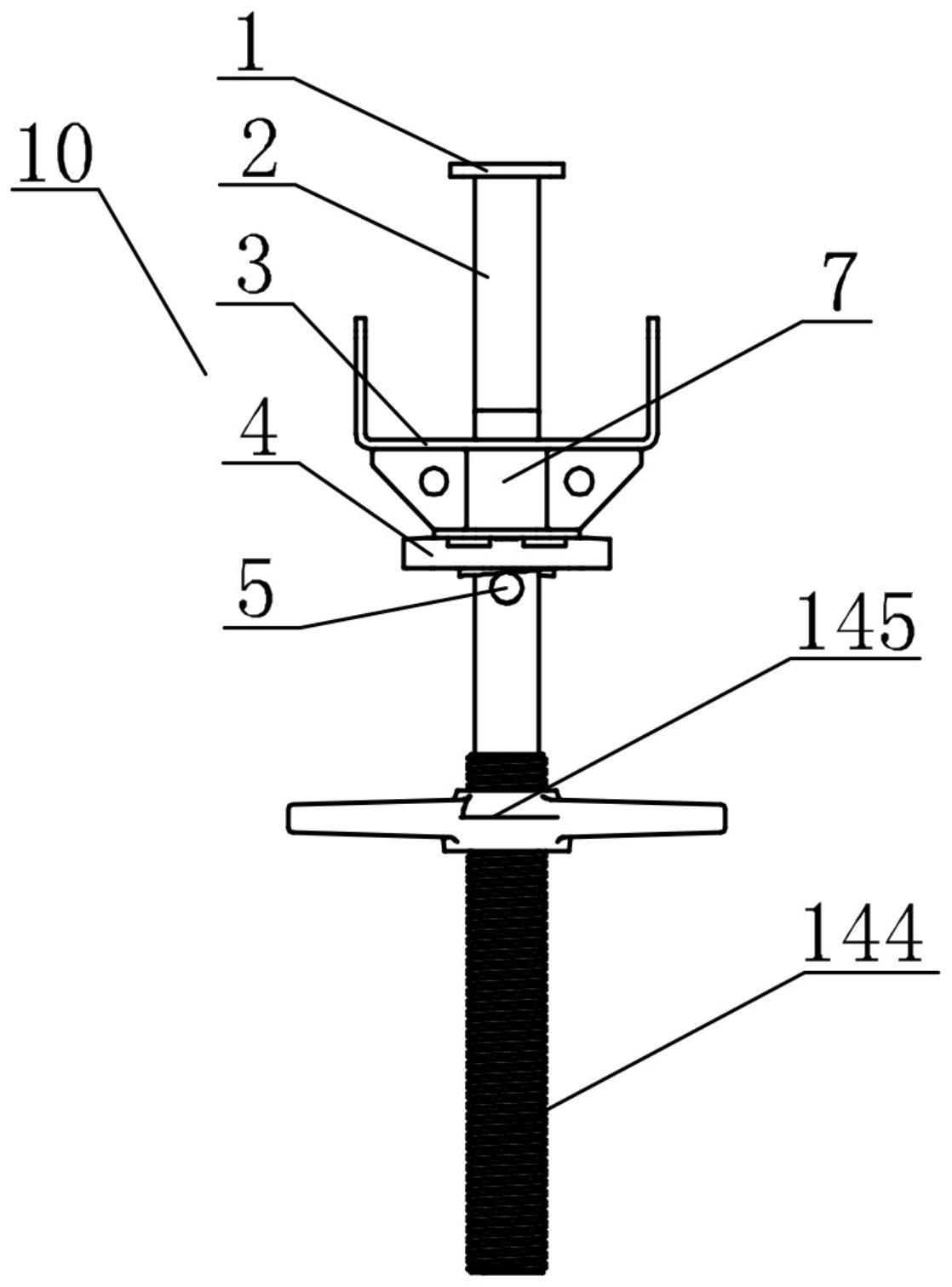
早拆头及早拆模板装置
图片尺寸1118x1511