晶体生长炉示意图

单晶硅生长炉的单晶硅生长炉热场的设计与仿真
图片尺寸549x678
cn102418140a_硅熔体连续加注的直拉硅单晶生长炉及其方法失效
图片尺寸552x648
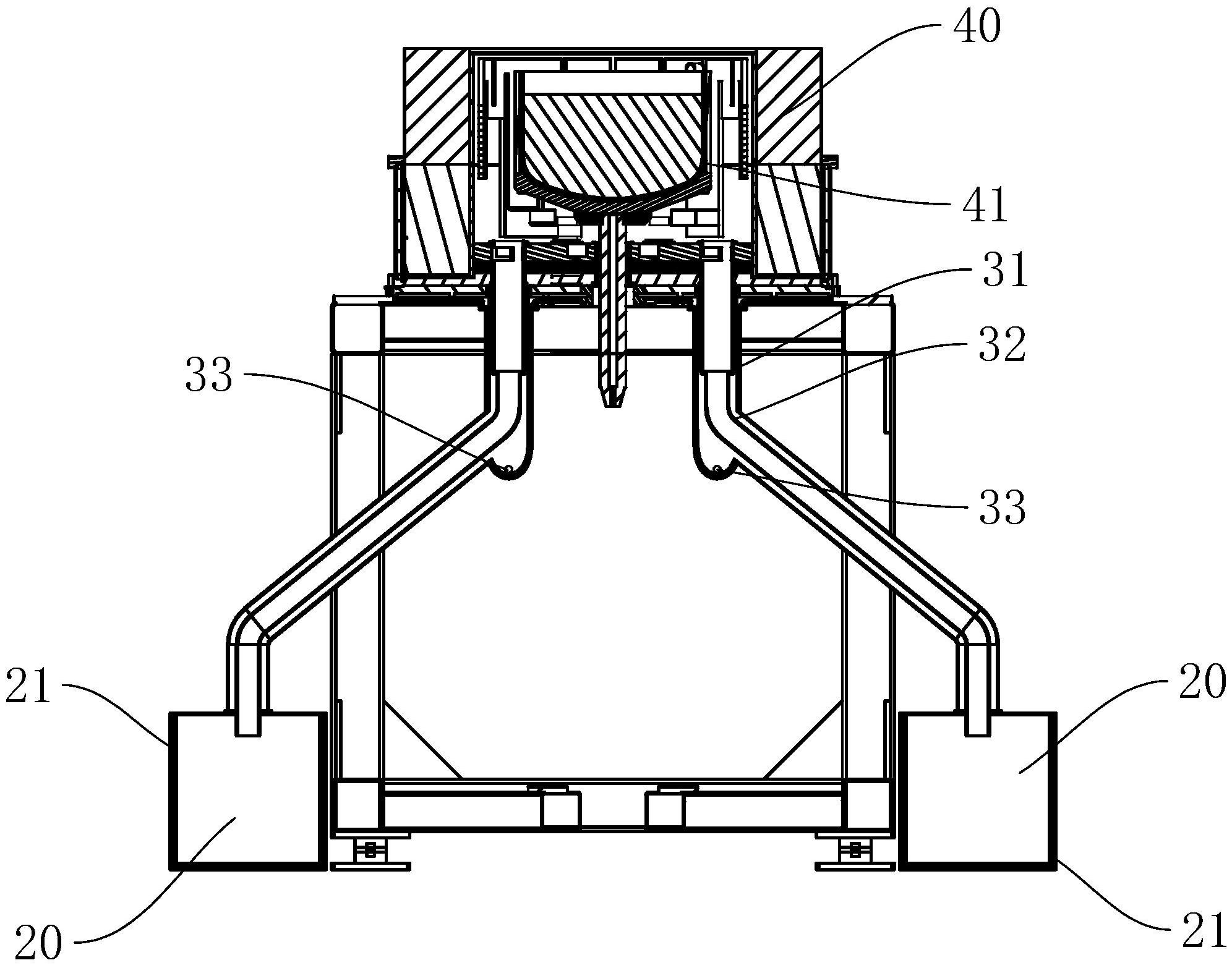
一种防漏硅晶体生长炉
图片尺寸1992x1566
图3-单晶硅炉深谙行业技术之需即便如此,光伏行业仍然是一个快速成长
图片尺寸561x650
cz 法晶体生长设备 图1,2和图3为一典型的cz 生长炉的示意图和实际
图片尺寸1559x1798
cn101311335a_一种直拉晶体生长炉热系统的拆装装置失效
图片尺寸1388x2292
直拉法单晶炉示意图
图片尺寸769x653
新型单晶体生长炉的制作方法
图片尺寸662x1000
一种节能型蓝宝石晶体生长炉-爱企查
图片尺寸356x572
一种氮化铝晶体生长炉的制作方法
图片尺寸796x1000
单晶硅生长炉
图片尺寸616x590
蓝宝石晶体的生长方法及蓝宝石晶体生长用的长晶炉结构
图片尺寸1810x1860
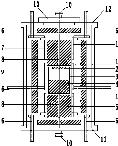
一种晶体生长炉的制作方法
图片尺寸1000x944
一种具有三加热器的蓝宝石晶体生长炉-爱企查
图片尺寸1744x1240
cn108277534a_一种石墨电阻加热sic晶体生长炉在审
图片尺寸464x576
一种多坩埚晶体生长炉
图片尺寸376x444
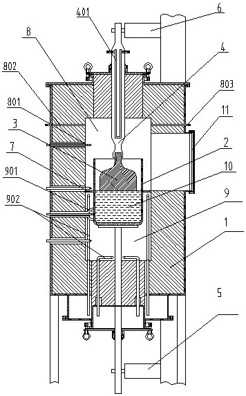
一种晶体生长炉的制作方法
图片尺寸1000x609
晶体生长炉的制作方法
图片尺寸432x526
一种超大单晶体生长炉制造技术
图片尺寸1000x856
一种焰熔法数控晶体生长炉的制作方法
图片尺寸868x1000