晾衣架齿轮结构图

结构图(自动分段伸缩式阳台晒衣架)
图片尺寸1000x646
电动遥控升降式晾衣架
图片尺寸709x286
一种电动晾衣架的电机传动结构,包括蜗杆(2)及两个齿轮(1),两个齿轮(1
图片尺寸711x1000
一种搅轮式晾衣架的制作方法与工艺
图片尺寸807x931
一种构造简单的晾衣架手摇器-爱企查
图片尺寸1845x1255
cn206768456u_一种电动晾衣架有效
图片尺寸1000x689
半自动晾衣架
图片尺寸820x609
恋伊手摇器维修配件 摇手零件 升降晾衣架摇把内部齿轮
图片尺寸899x899
一种可自动调节晾晒距离的智能晾衣架
图片尺寸1528x1247
双杆手摇器升降器摇把晾衣架维修配件棘轮摇手器升降盒通用手柄
图片尺寸750x503
名人居智能电动晾衣架安装步骤说明
图片尺寸600x396
可切换晾衣架手摇器-爱企查
图片尺寸798x800
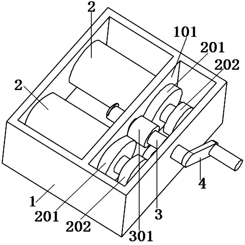
摘要附图摘要本实用新型公开了一种晾衣架升降结构,包括壳体和齿轮组
图片尺寸800x565
一种具有辅助晾晒功能的电动晾衣架的制作方法
图片尺寸1000x567
一种电动晾衣架驱动装置及电动晾衣架
图片尺寸1172x890
齿轮的结构设计
图片尺寸379x369
本发明涉及晾衣架结构,尤其是一种外挂,内嵌两用电动晾衣架.
图片尺寸1000x819
结构2一种双层套管混凝土桩及其施工方法3一种生根增强型灌注桩施工
图片尺寸1744x2436
智能电动晾衣架,电机齿轮,内部结构
图片尺寸864x486
一种同步伸缩式晾衣架制造技术
图片尺寸918x1000