曝光机结构

ldi日立曝光设备说明
图片尺寸1080x810
照相机构造简图
图片尺寸1080x810
数码单镜头反光照相机 佳能eos d30结构图解
图片尺寸1449x2023
一种dmd结构多轴可移动光路直写曝光机
图片尺寸1350x901
一种新型的防焊双面led曝光机
图片尺寸1000x800
照相机基础知识ppt
图片尺寸1080x810
曝光步骤是在曝光机上完成的,现有的一种半自动曝光机结构如附图1所述
图片尺寸486x449
相机的种类ppt
图片尺寸1080x810
相机基本构造
图片尺寸750x539
目前主流光刻机可以分为接近接触式,投影式以及直写式光刻三类,每种光
图片尺寸660x249
【美行摄影】相机结构及曝光原理
图片尺寸640x470
照相机 照相机主要由哪几部分组成?
图片尺寸1080x810
2.1——生活中的透镜ppt
图片尺寸1080x810
3d相机的结构和工作原理是什么 3d相机的结构及工作原理(手机和相机
图片尺寸920x690
一,照相机 1,照相机的构造
图片尺寸1080x810
激光直接成像曝光机用聚焦结构及聚焦方法技术
图片尺寸1000x515
用于曝光机的旋转式uv-led光源结构-爱企查
图片尺寸1695x1031
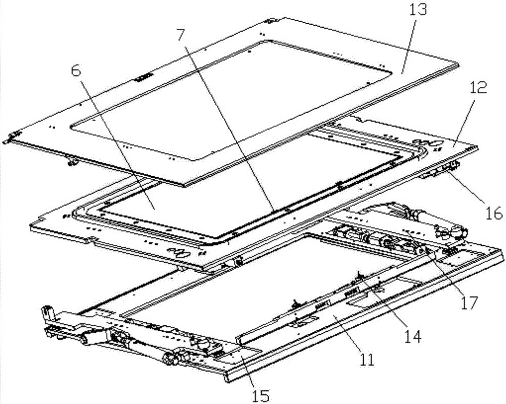
双面膜曝光机的帧收放结构的制作方法与工艺
图片尺寸1000x836
数码相机,构造图如下: 工作原理图如下: 二:单反相机的结构导致的优点
图片尺寸893x414
其它 太东摄影班网上课堂19 写美篇1,曝光作用 传统照相,只要准确曝光
图片尺寸4608x2304