曲辕犁制作方法

查看县志是了解地方历史一种非常有效的方法,而考古发现可以补充文献
图片尺寸374x230
人教部编版七年级历史下册 第3课 盛唐气象课件 (共28张ppt)
图片尺寸720x540
伴你学历史33从曲辕犁看古代农具的演变
图片尺寸837x591
石磨木犁锄头农大学子亲手自制17件农具小萌物里看到大历史
图片尺寸800x816
高中历史,古代中国农业农具
图片尺寸720x960
一张 / 下一张 江东犁复原图
图片尺寸600x367
耦犁 耧车 曲辕犁
图片尺寸400x228
古人的智慧——曲辕犁5
图片尺寸600x400
曲辕犁然而西方就不同,西方是哲学至上,先研究理论,再去证明.
图片尺寸572x380
【从历史图片中获得历史信息,是历史学习的一种重要方法.
图片尺寸527x139
那时出现了许多小巧轻便的短辕犁(比如曲辕犁),一犁一牛已非常普遍
图片尺寸640x336
犁辕前端装以铁质犁铧整体以木材为主曲辕犁由11个部件构成我们先看它
图片尺寸1080x771
"曲辕犁",在古代被用来松土,破开板结的土壤,耕出槽沟,从而为播种做好
图片尺寸788x417
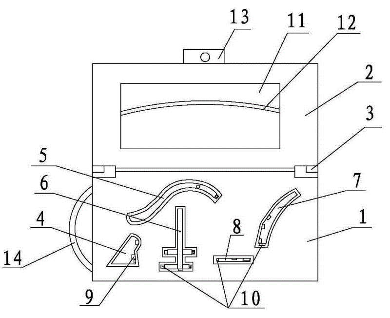
便携式历史教学中曲辕犁演示盒
图片尺寸800x652
汉唐时代早已定型的曲辕犁
图片尺寸600x411
魏晋时期旱地耕作的直辕犁曲辕犁江东犁复原模型左耙右耖
图片尺寸1000x1495
曲辕犁模型
图片尺寸390x580
一分钟了解曲辕犁,中国古代劳动人民的智慧发明,涨知识了
图片尺寸672x377
随手做一个曲辕犁3d模型
图片尺寸1728x1080
了解曲辕犁
图片尺寸2464x1632