机井打捞器展示图

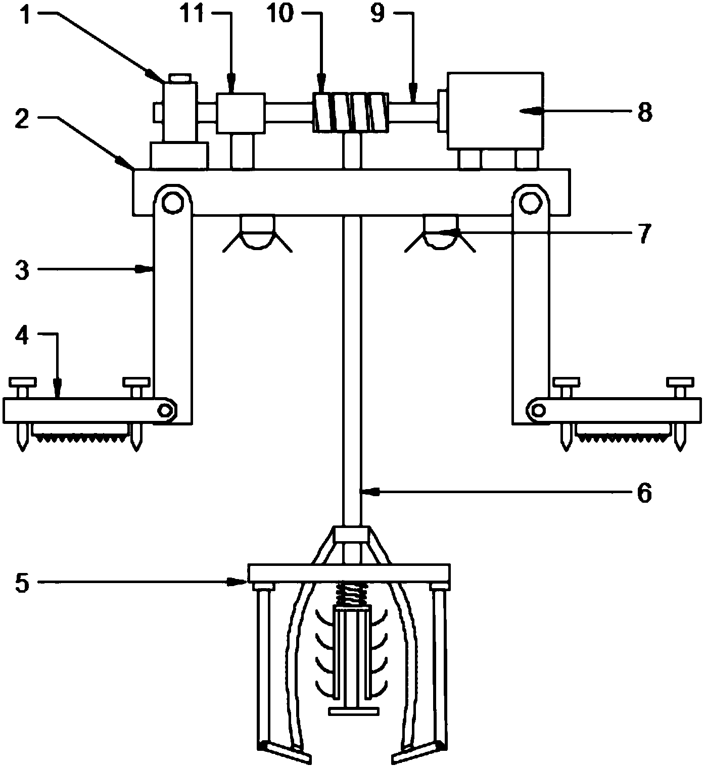
本实用新型公开了一种农田水利机井用的捞污装置,包括第一固定板,打捞
图片尺寸1395x1518
打捞器 (考古学)
图片尺寸1145x1618
打捞器
图片尺寸260x300
强磁打捞器
图片尺寸796x596
看图学习常用钻井打捞工具
图片尺寸650x280
一种机井捞沙装置 本专利技术涉及一种机井捞沙装置,属于机井打捞设备
图片尺寸507x472
龙陵民警研发"水下救援打捞器"获国家专利
图片尺寸630x420
史上最全打捞工具概述(详细,量大,专业)
图片尺寸812x530
捞泵神器100多米的深水井一下子就捞上来了生手捞泵也可以
图片尺寸535x951
看图学习常用钻井打捞工具
图片尺寸650x345
基于无线控制的井下打捞工具及使用方法技术
图片尺寸590x1000
冲抓锥洗井机打捞井内潜水泵石头块清淤机井杂物打捞器
图片尺寸1080x1440
水利机井漂浮物打捞装置的制作方法
图片尺寸293x443
机井灌溉控制系统
图片尺寸640x480
大头摇水泵压水井手动摇水机井头手压泵吸水器抽水泵不锈钢支架 大头
图片尺寸790x526
朔州温泉井维修水井出水量不足哪家服务好
图片尺寸1080x2035
供应牧野钻井捞井机
图片尺寸726x1024
漏凉水,井管脱节,井口错位,泵室加深,以及打捞难度较高的水井异物
图片尺寸620x460
信阳一女子跳入机井井内氧气稀薄消防员悬绳下井紧急救援
图片尺寸941x519
一种机井用辅助净水系统-爱企查
图片尺寸1825x1056