机械脚

#绘画参考#
图片尺寸690x788
#绘画参考#
图片尺寸516x849
#绘画参考#
图片尺寸690x552
创意设计 | 机械脚渲染
图片尺寸1080x607
#绘画参考# 机械脚
图片尺寸564x845
#绘画参考# 机械脚 - 半次元 - acg爱好者社区
图片尺寸564x845
#绘画参考#
图片尺寸690x518
用3dmax建模做一个科技感十足的机械脚_哔哩哔哩_bilibili
图片尺寸1728x1080
不锈钢304万向脚杯重型支撑地脚可调节机械脚360度旋转关节螺丝脚
图片尺寸800x800
#绘画参考# 机械脚 - 半次元 - acg爱好者社区
图片尺寸564x845
#绘画参考#
图片尺寸690x342
#绘画参考# 机械脚
图片尺寸560x839
两只脚机器人|三维|机械/交通|灬懒杨杨灬 - 原创作品 - 站酷 (zcool)
图片尺寸1220x673
朋克机械 - 堆糖,美图壁纸兴趣社区
图片尺寸400x417
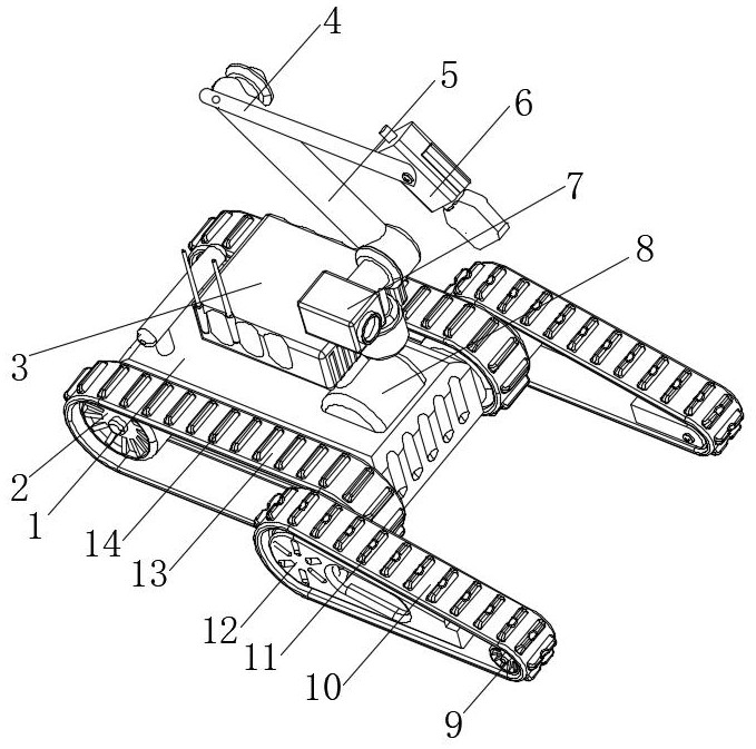
一种高通过性可移动的机械脚-爱企查
图片尺寸679x673
大型科幻机器人-脚,3dmax入门级建模项目,次时代场景道具精品教学
图片尺寸1728x1080
8寸欧式重力脚商用橱柜吧台重型机械脚 不锈钢22公分可调节脚厂家-阿
图片尺寸750x1543
蒸汽朋克机械腿 - 堆糖,美图壁纸兴趣社区
图片尺寸400x599
#绘画参考# 机械脚 - 半次元 - acg爱好者社区
图片尺寸564x845
人机设计图纸模型_第33页 - 机械5
图片尺寸291x218