机芯分解图矢量图

拒绝一油到底,史上最权威2824机芯组装点油手册!
图片尺寸1080x1567
机芯手绘图
图片尺寸550x550
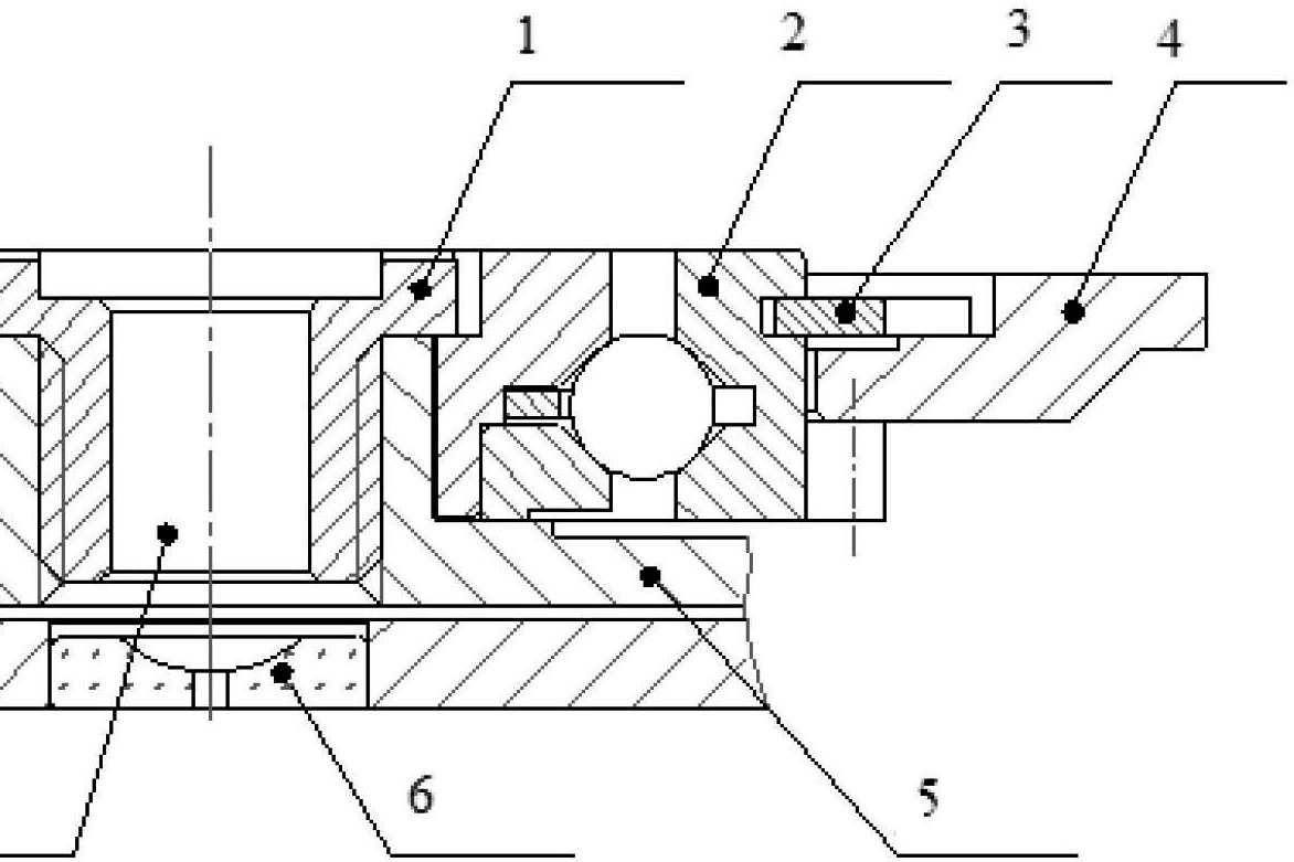
一种手表机械机芯结构
图片尺寸2022x1018
新生代时尚机械腕表agelocer(艾戈勒)_机芯
图片尺寸1080x1080
一种手表机械机芯结构
图片尺寸1172x781
cn209746361u_一种机芯刻度手表
图片尺寸824x1000
一种按摩机芯的制作方法
图片尺寸1800x2453
在有趣的机芯里 藏着一些神奇的珠子
图片尺寸700x450
机芯和钟表
图片尺寸2603x1862![[转载]名表机芯](https://imgs.wantubizhi.com/img/735A5D1F980B52A636CC46F12F2D1A73BA43E020BDDA10FCC4963772D11614906B676A36A9D41A8B4100343C5C7BD6E1A1AC91BB5B435FC53A004E13F77982DD245C16C48665E1752C6E62572D1951874E0B3BECCDB24779809DEF6E7E6B945C)
[转载]名表机芯
图片尺寸577x540
一种机械手表的万年历机构
图片尺寸1524x1494
天梭机械表什么机芯好天梭表机械表的机芯有什么特点
图片尺寸785x626
新品亮点:1858无氧表壳世界时计时码表,minerva 翻转机芯计时码表
图片尺寸2000x2001
欧米茄3861机芯拆解图密恐者慎入
图片尺寸779x959
现代制表中的共振机芯
图片尺寸740x740
机械手表机芯-爱企查
图片尺寸1119x1079
钟表机芯
图片尺寸1135x950
cn108227452a_具有动力储备检测的机械钟表机芯在审
图片尺寸2452x1387
上海手表厂
图片尺寸575x562
机芯_维修_周期
图片尺寸371x586