板凳结构

一种可拆卸凳子的制作方法
图片尺寸846x693
一种便携式折叠凳制造技术
图片尺寸1000x727
传统木工必修课——八字脚小板凳制作 | 中国木工爱好者
图片尺寸1033x662
杌凳图例 | 明式家具工匠手记_结构
图片尺寸1080x685
初级木工课榫卯结构之板凳制作
图片尺寸640x462
一种便携式拆装板凳的制作方法
图片尺寸1000x991
板凳凳子的基础素描教程
图片尺寸800x1132
一般家庭常用的板凳也是一样,传统的板凳,都是用榫卯结构连接起来
图片尺寸1000x899
一种便携式纸箱板凳的制作方法
图片尺寸1000x943
一种榫卯结构的三足凳子
图片尺寸812x1000
创意小凳子时尚简约换鞋凳家用成人板凳布艺矮凳客厅沙发凳穿鞋凳
图片尺寸790x1160
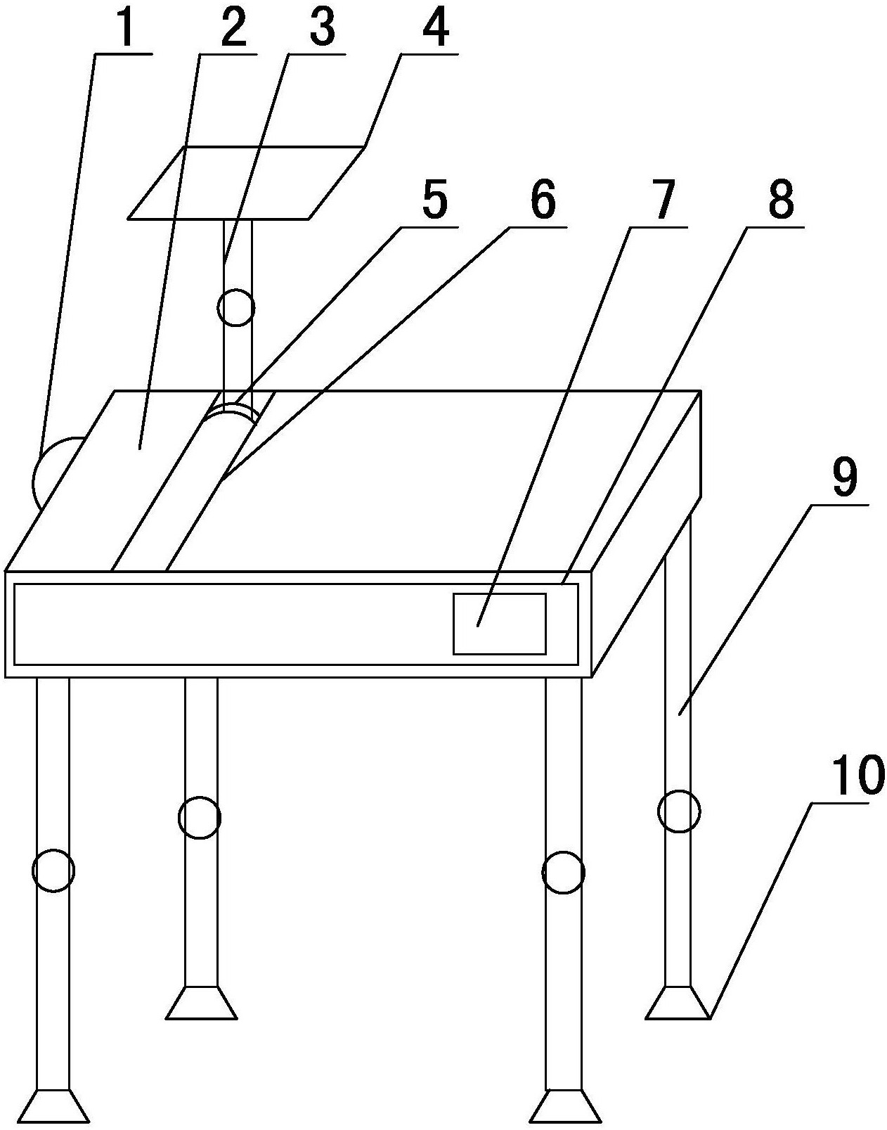
所述的抄表板凳,包括凳台和凳腿,凳台底部设有凳腿,凳腿为折叠式结构
图片尺寸1262x1607
解密红木家具结构部件——椅凳篇【批木网】
图片尺寸600x392
寻木匠方凳木登板凳实木凳子板凳高凳子家用家用成人木头凳子原木四
图片尺寸750x652
具有储物功能的凳子的制作方法
图片尺寸1000x761
4脚8叉小板凳制作过程(全榫卯结构).doc
图片尺寸792x1120
活动预告榫卯结构凳子制作亲子活动
图片尺寸1000x1334
一种凳子的凳面拼接结构的制作方法
图片尺寸832x1000
四脚八叉小板凳制作过程全榫卯结构
图片尺寸920x1302
学做四腿八叉板凳的教学纸样
图片尺寸542x345