板式压滤机结构图

板框式压滤机结构图
图片尺寸504x480
一种降低滤渣含水量的板框压滤机滤板机构的制作方法
图片尺寸1708x1308
各种压滤机cad图纸,可编辑.厢式,带式,叠螺,板框污泥压滤 - 抖音
图片尺寸1440x2880
板框压滤机的工作原理及维护保养步骤
图片尺寸548x368
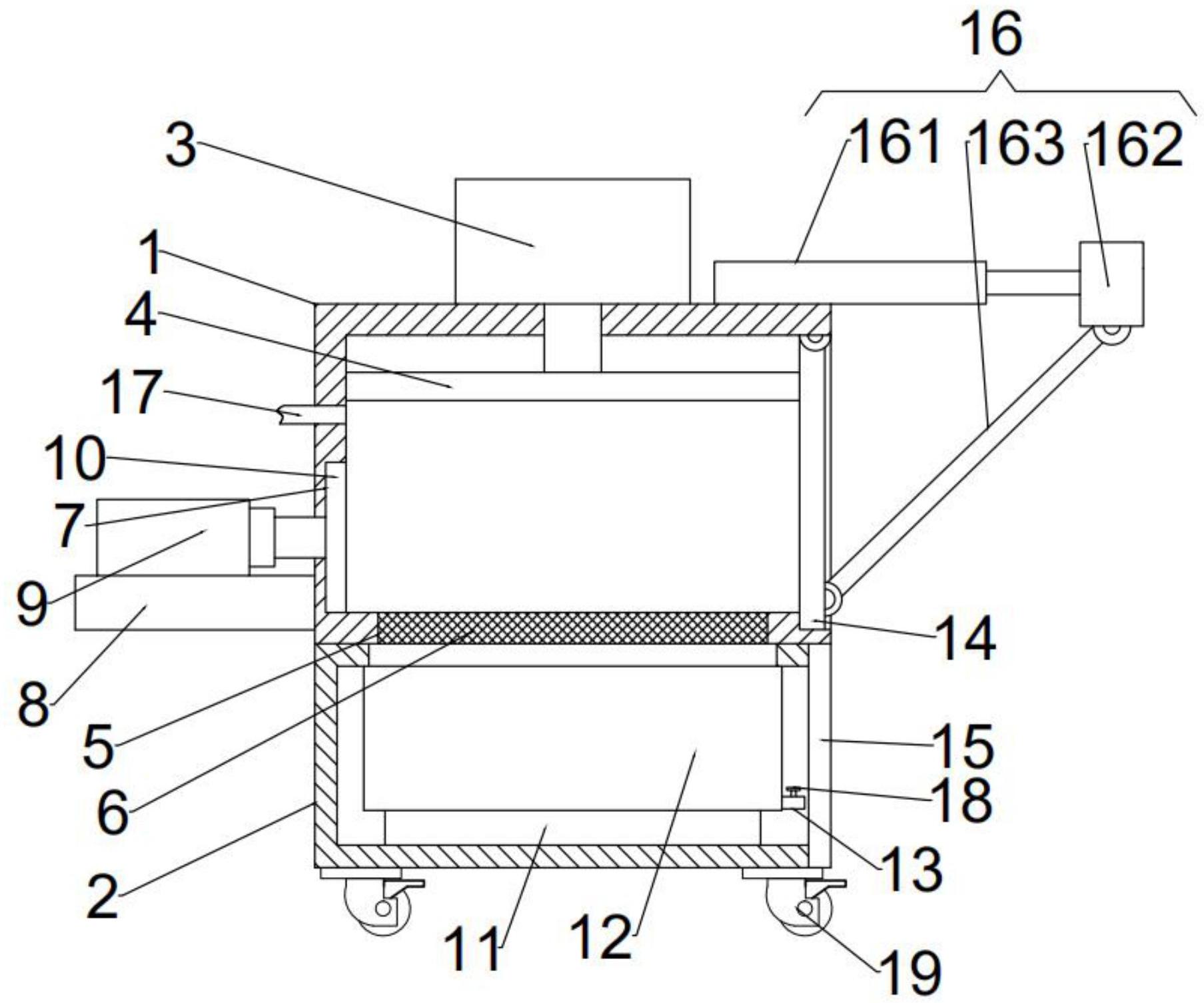
一种智能板式压滤机
图片尺寸1807x1506
01压滤机结构和工作原理
图片尺寸750x458
压滤机
图片尺寸1920x1651
板框压滤机结构图
图片尺寸640x500
结构,罐体上端一侧安装有振动杆,振动杆和板式密闭过滤机本体的固定杆
图片尺寸2085x1771
压滤机及其改装套件
图片尺寸2765x1806
板框式压滤机
图片尺寸800x530
板框压滤机工作流程图
图片尺寸955x491
板框式压滤机.jpg
图片尺寸2883x2647
板框压滤机 压滤机设备
图片尺寸769x492
板框压滤机的工作原理(精)
图片尺寸1080x810
板框式压滤机构造图
图片尺寸800x521
板框式压滤机构造图
图片尺寸800x479
板框污泥压滤脱水机详解
图片尺寸538x455
环保压滤机入料泵37千瓦,高压泥浆泵.37千瓦压滤机入料泵, - 抖音
图片尺寸758x656
"带式压滤机:高效固液分离设备在化工,矿山,等行业的广泛应用"
图片尺寸769x420