板式塔的结构图

2021郑州工业自动化展/工博会/机床展:板式塔的结构
图片尺寸500x700
在板式塔中装有一定数量的塔盘
图片尺寸646x817
板式塔
图片尺寸682x688
板式塔结构简图
图片尺寸292x671
板式塔基本知识ppt课件
图片尺寸920x690
化工机械设备基础 第十三章 板式塔课件.ppt
图片尺寸1152x864
精馏设备-板式塔的结构和原理
图片尺寸640x477
板式塔
图片尺寸1080x810
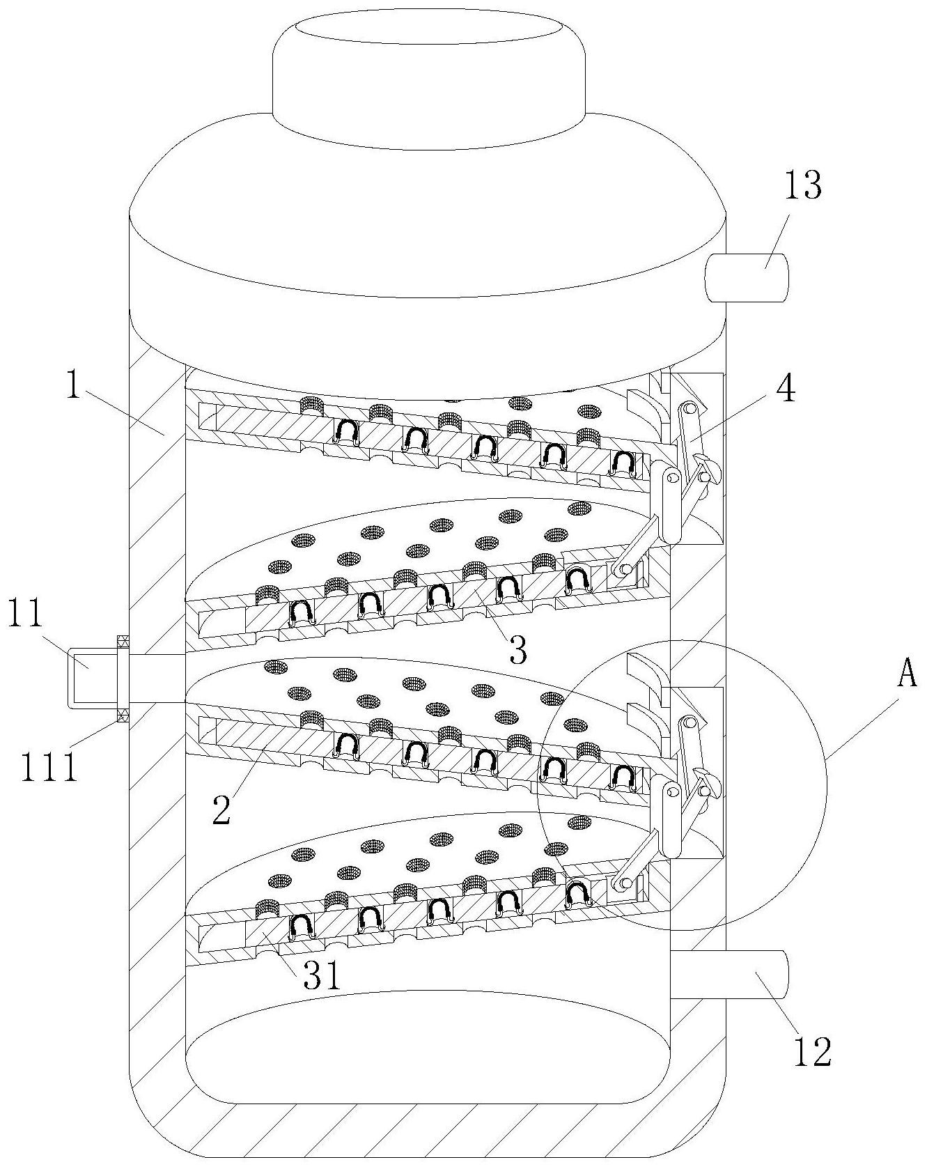
cn112023432a_一种板式分馏塔
图片尺寸1331x1678
热泵精馏精馏干货19板式塔的不同类型你都认识吗
图片尺寸639x549
板式塔设计ppt
图片尺寸1080x810
第六章 精馏5板式塔
图片尺寸1080x810
筛板塔结构图
图片尺寸800x1132
板式塔dn3800
图片尺寸568x790
板式塔dn1400
图片尺寸546x758
板式塔dn1700
图片尺寸583x802
板式塔的应用 1.板式塔总体结构
图片尺寸1080x810
求帮画cad板式精馏塔的图,化工课程设计用
图片尺寸475x667
筛板式精馏塔装配图 sq
图片尺寸2466x3467
板式塔介绍
图片尺寸209x319