桥护栏简笔画

石桥栏杆
图片尺寸1024x696
园林小桥简笔画
图片尺寸500x500
用黑色水彩笔画出桥面,桥墩和护栏.
图片尺寸1707x1280
矢量桥护栏
图片尺寸650x278
一种路用移动式安全护栏的制作方法
图片尺寸534x399
一种市政道路用安全护栏的制作方法
图片尺寸989x1000
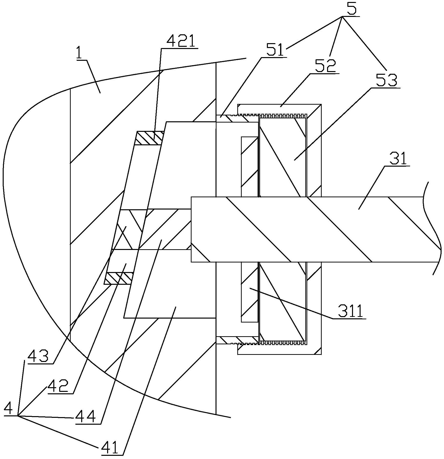
一种桥梁护栏-爱企查
图片尺寸1815x1873
文峰桥的简笔画怎么
图片尺寸523x300
简笔画古建筑栏杆
图片尺寸220x220
石拱桥简笔画图片大全,蛋壳石拱桥简笔画_竞价网
图片尺寸499x428
桥简笔画桥简笔画简单又好看
图片尺寸560x380
小桥的简笔画画法 小桥的简笔画步骤
图片尺寸800x450
小桥简单画法图简笔画
图片尺寸600x400
桥的简笔画图片卡通
图片尺寸567x567
中山桥简笔画步骤 中山桥简笔画教程
图片尺寸800x450
一种公路桥梁安全防撞护栏设备-爱企查
图片尺寸243x299
简笔画公路护栏图
图片尺寸622x500
一种城市桥梁用护栏
图片尺寸443x233
一种栏杆参与结构受力的景观桥梁结构的制作方法
图片尺寸1000x452
一种新型公路桥梁装配式混凝土防撞护栏的制作方法
图片尺寸324x444