梭阀原理图

梭阀
图片尺寸800x556
健行科技大学机械工程系~张祖烈老师教学网
图片尺寸801x601
一种新型梭阀的制作方法
图片尺寸1000x547
图11.38为梭阀的工作原理图.
图片尺寸576x315
力士乐m7分配阀中的先导压力缓冲梭阀可以拆掉吗
图片尺寸1063x692
一种带指示的气控梭阀
图片尺寸419x242
cn201502746u_一种螺纹连接的钢球式梭阀失效
图片尺寸1249x952
梭动阀
图片尺寸244x243
梭阀的制作方法
图片尺寸694x1000
生产厂家提供 sf型液压用梭阀sf-06/36w sf-12/31 12mm通径
图片尺寸580x410
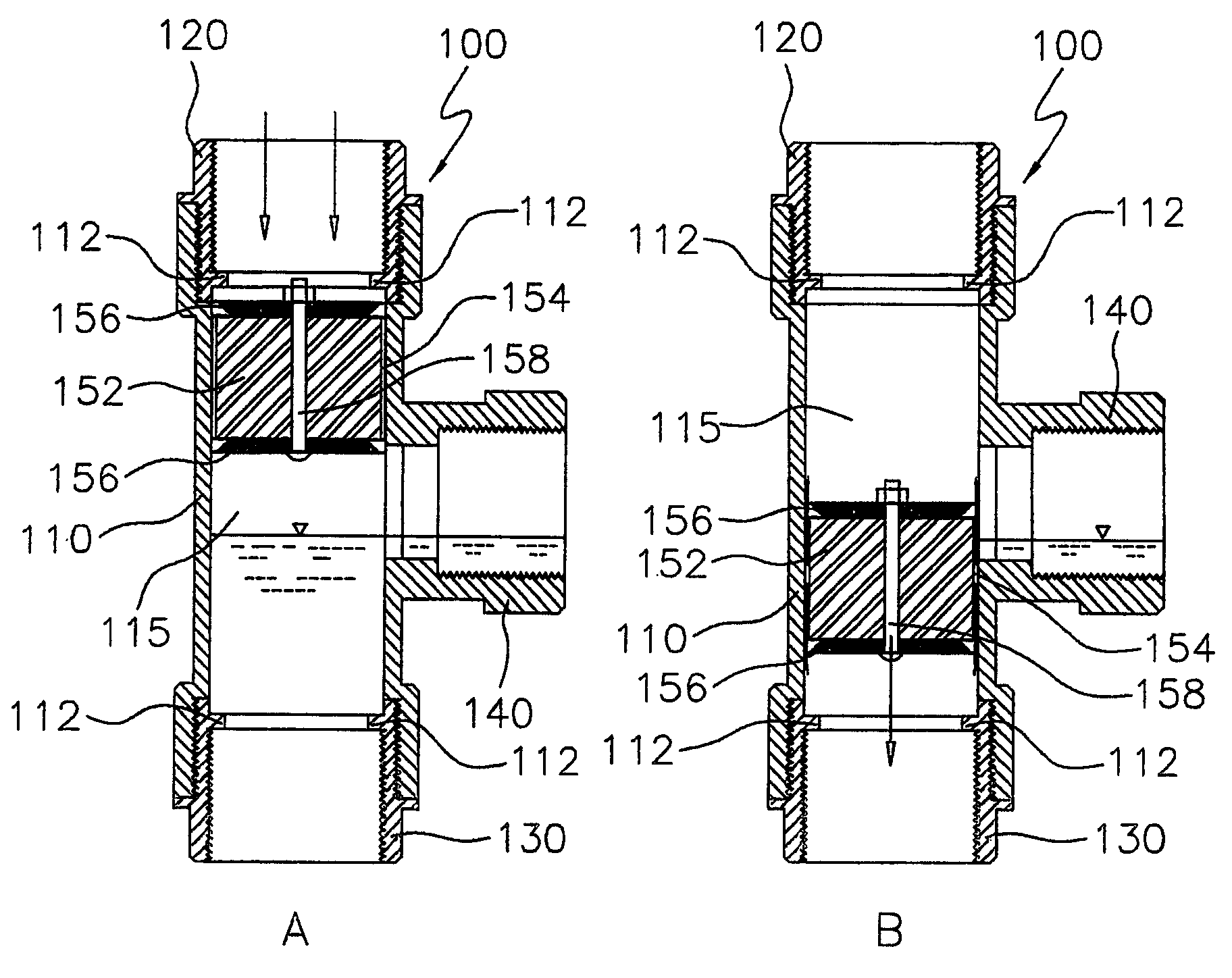
cn100381739c_一种梭阀失效
图片尺寸1824x1448
vu/sf梭阀
图片尺寸619x387
cn102889398b_梭阀,梭阀驱动式装置,卷筒制动缸控制回路及起重机有效
图片尺寸551x368
梭阀的工作原理
图片尺寸400x352
热油梭阀及溢流回路
图片尺寸202x150
3)与门型梭阀如图3为或门型梭阀的结构原理.
图片尺寸540x243
单向阀与梭阀
图片尺寸634x244
与门型梭阀应用回路
图片尺寸293x264
梭阀 梭阀又叫选择阀或双单向阀,它实际上是一种三通式液控
图片尺寸509x220
健行科技大学机械工程系~张祖烈老师教学网
图片尺寸801x601