模具强行复位机构图片

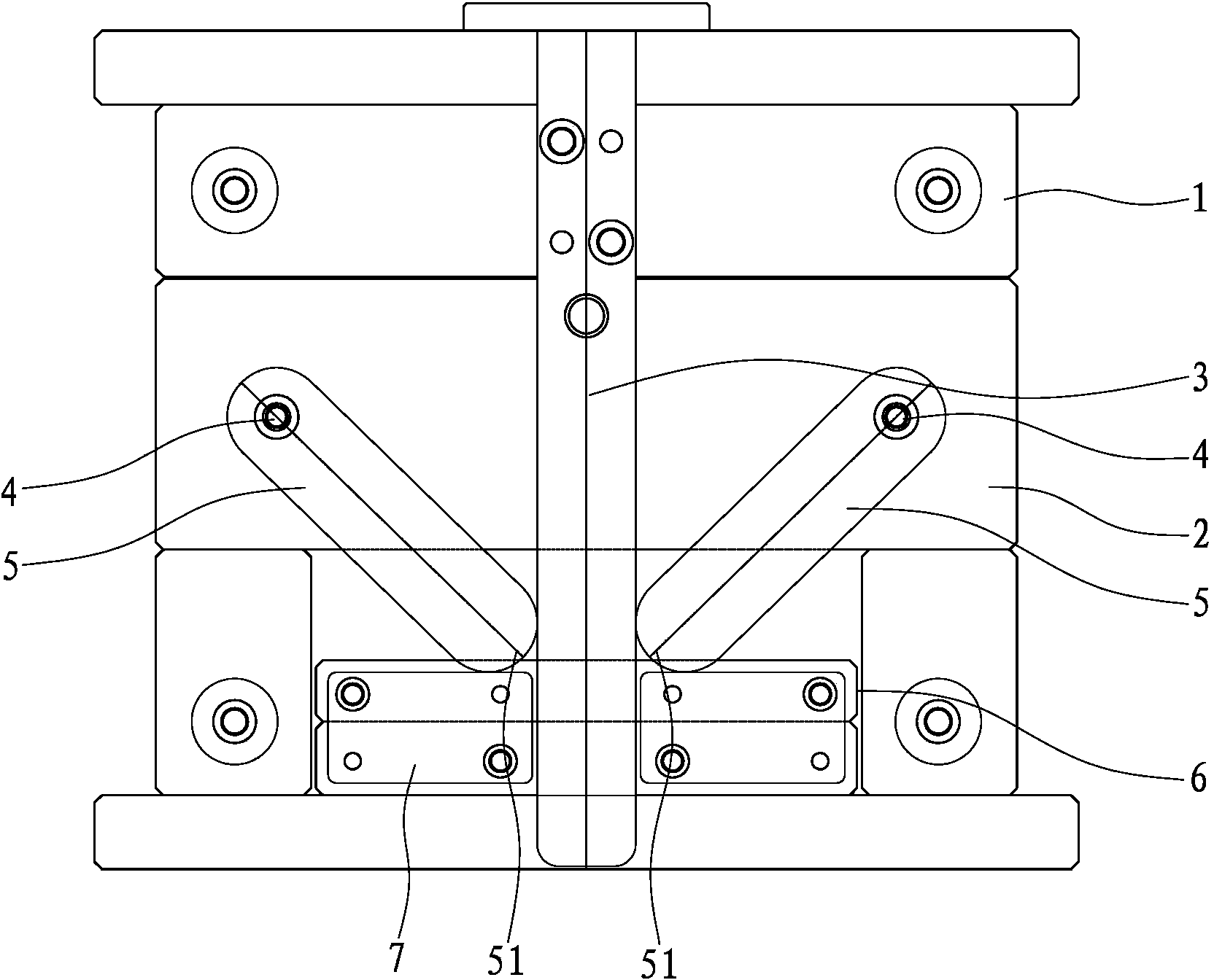
一种改进的模具强行复位机构
图片尺寸1000x717
一种改进的模具强行复位机构的制作方法
图片尺寸1000x718
模具设计:顶针板强制复位讲解,你学到没
图片尺寸1728x1080
注塑模具强制回位机构
图片尺寸1664x1344
盒状机壳外观件塑料模具,强制复位机构
图片尺寸702x448
职业院校技能大赛模具设计教学(14)复位弹簧设计补充
图片尺寸1797x1080
模具强复位结构
图片尺寸525x565
ug模具设计中强复位的作用及运作原理
图片尺寸500x552
图25 八,先复位机构的设计 现在我来介绍一种最常见的预复位机构,见图
图片尺寸640x410
两分钟看懂模具复位机构设计,收藏!
图片尺寸720x460
ug模具设计中强复位的作用及运作原理
图片尺寸640x517
强行复位机构 塑胶模具 第2页-icax开思论坛 - www.icax.org
图片尺寸508x531
巧妙的模具结构:行位先复位_天线_产品_平台
图片尺寸640x358
巧妙的模具结构:行位先复位_天线_产品_平台
图片尺寸640x378
图28 先复位机构在模具的二侧都有,是完全对称的,见图29.
图片尺寸640x380
巧妙的模具结构:行位先复位_天线_产品_平台
图片尺寸640x411
一个设计巧妙的机械复位结构,看看其工作原理,长见识了
图片尺寸640x344
一种带有机械式摆杆先复位机构的注塑模具-爱企查
图片尺寸438x358
ug模具设计中强复位的作用及运作原理
图片尺寸640x450
连杆先行复位机构▼
图片尺寸869x548