模数转换

10数模模数转换ppt_word文档在线阅读与下载_无忧文档
图片尺寸1080x810
模数转换(软件 | 自动化)_技点百科
图片尺寸2362x3187
《模数转换器》ppt课件
图片尺寸800x600
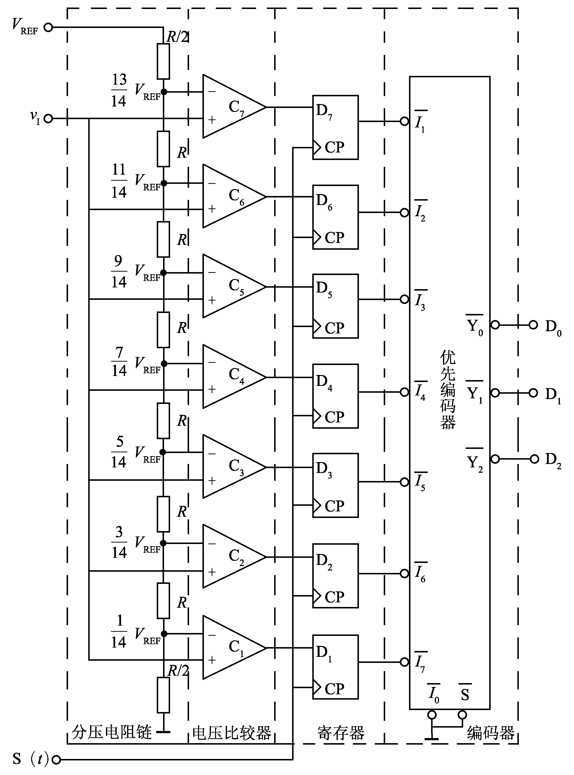
模数转换器基本原理 - 鸟的天空
图片尺寸464x168
国产#芯片 ms1549 #sar #模数转换器 兼容ad7 - 抖音
图片尺寸801x638
数字模拟转换器
图片尺寸639x744
51单片机adda数模转换
图片尺寸1040x648
适用【qhebot】adc0832模数转换模块51单片机扩展ad转换功能模数 不焊
图片尺寸800x800
数 模与 模数转换电路ppt_word文档在线阅读与下载_无忧文档
图片尺寸1080x810
芯片模数转换ad2s1205ystzlqfp-44集成电路ic电子模数转换器
图片尺寸800x800
模数转换器(adc) bl1063
图片尺寸2978x2775
模数信号转换(ad转换) - 爱码网
图片尺寸482x388
第九章 数模与模数转换电路_文档下载
图片尺寸1080x810
微机实验报告 数模转换器_word文档在线阅读与下载_免费文档
图片尺寸893x280
计算机数值进制转换 - 山风有耳 - 博客园
图片尺寸658x453
a/d模数转换 - zhliao - 博客园
图片尺寸776x453
凌力尔特推出 18 位,1msps,无延迟模数转换器-电源管理-电子工程世界
图片尺寸2100x1500
求助51单片机做ad,da转换的程序设计思路 - 资料共享 单片机论坛
图片尺寸1186x681
11.ad转换ppt_word文档在线阅读与下载_免费文档
图片尺寸1080x810
数字逻辑学第七章数模与模数转换器ad转换器adc.ppt
图片尺寸1152x864