模架绘图

东莞标准模具架三格四层 重型模具架批发 五金模具存放架现货销售
图片尺寸1027x734
模架图.dwg
图片尺寸1200x800
模架(草图).dwg
图片尺寸1200x800
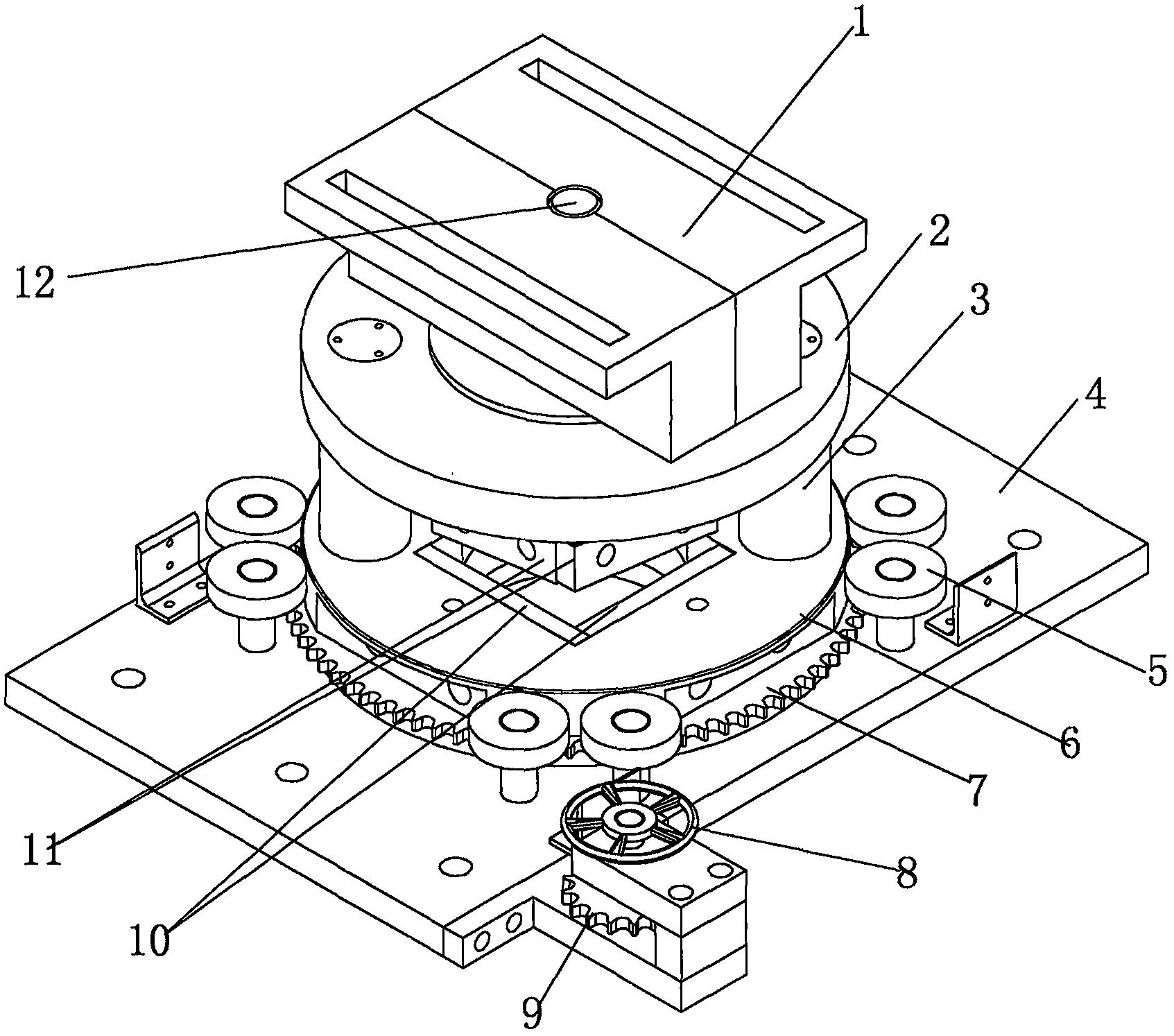
一种适用于门型墩结构桥梁的下行式移动模架
图片尺寸1916x1807
模架绘图.#宁海模架绘图 #模具 #模架 #autocad - 抖音
图片尺寸1179x721
3-标准模架ppt
图片尺寸1080x810
模具架厂家
图片尺寸790x480
一种大跨度超重板用承重支模架专利_专利申请于2018
图片尺寸1824x2332
一种塑胶模架制造技术
图片尺寸949x1000
一种塑胶模架制造技术
图片尺寸1000x804
冲模铸造模架三维参数化模架库
图片尺寸623x503
一种全加工塑胶非标模架的制作方法
图片尺寸892x1000
一种手动可调切角模架-爱企查
图片尺寸1693x1494
一种模架的制作方法
图片尺寸1000x880
一种锻压模架制造技术
图片尺寸1000x797
模具模架图
图片尺寸841x594
模架- 热门商品专区
图片尺寸1342x540
标准模架选用
图片尺寸1341x774
一种高精度塑胶模架制造技术
图片尺寸993x1000
注塑模具的标准模架是怎样的?
图片尺寸500x312