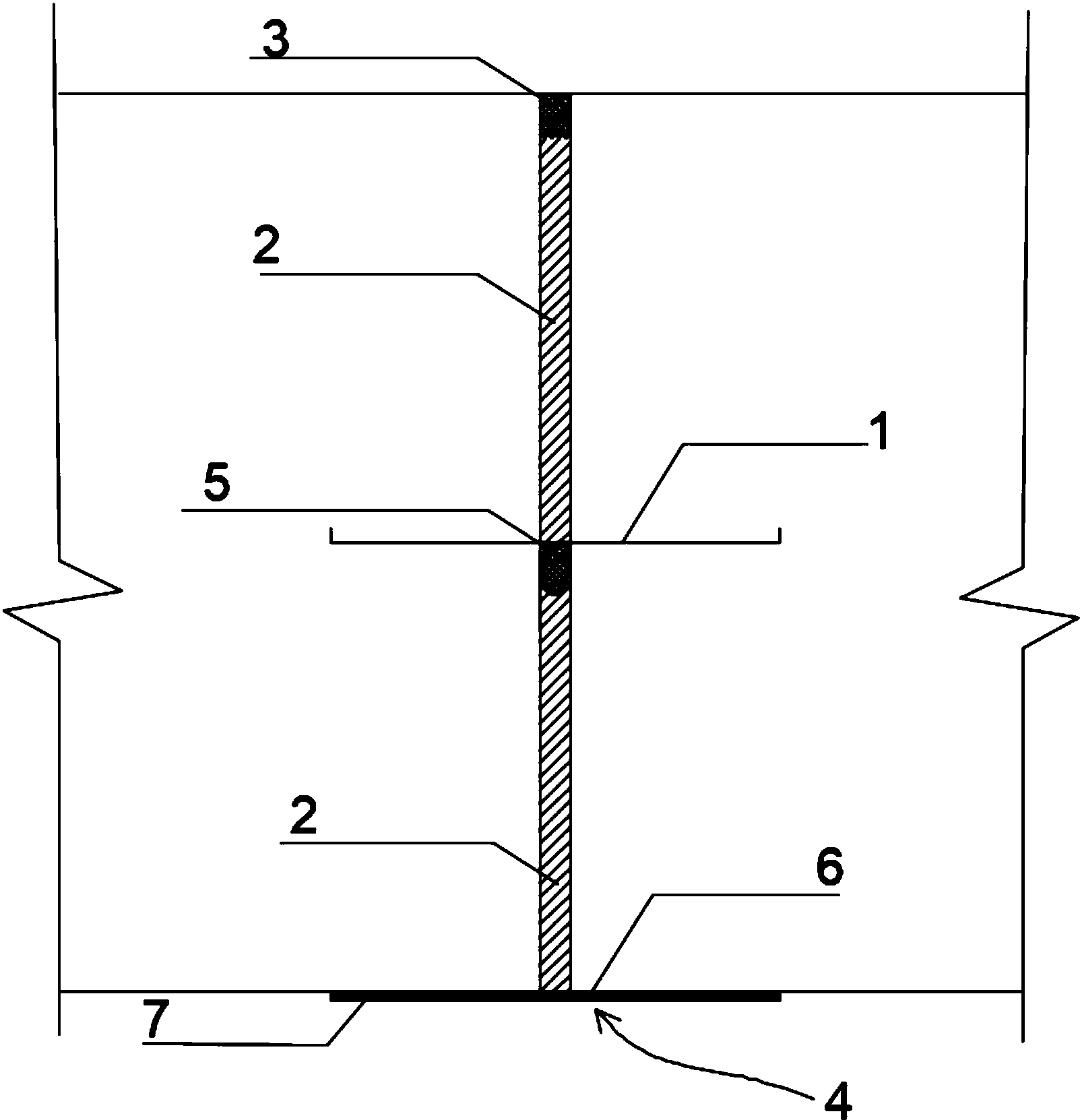
止水铜片安装大样图
![[分享]止水铜片安装大样图资料下载](https://imgs.wantubizhi.com/img/ADDA3C5D760C6828B77B505A29D43E8302F7A4263275993D79AA5042E3B91370057B57C3AAED4E10E8C9EFF949D3C5314A8129DBAF86AA594A88F2C25EF3331AAE6C11EAED3A1AC2FB12529EB134BC1CFCC05D310A784025BA52378A032B5C10)
[分享]止水铜片安装大样图资料下载
图片尺寸560x420
水利工程专用铜板 t2止水铜板 紫铜板加工v w u型 压形槽加工定做
图片尺寸960x544
紫铜片止水丨尺寸详图丨曹县
图片尺寸500x348
止水带大样图
图片尺寸1640x1171
中埋式金属止水带节点图
图片尺寸560x376
止水铜片
图片尺寸1020x568
生产加工t2止水铜片 工程止水带 隧道山洞止水专用紫铜带 板
图片尺寸750x750![[分享]止水铜片安装大样图资料下载](https://imgs.wantubizhi.com/img/735A5D1F980B52A636CC46F12F2D1A730BA37AC6408E93D596FB75B7E2154E6ACF149CDE355C2E7E1F3EF2C8B58A42663B21C1D512D89953DB2DD6239E93E5C79F54721F55E8D9124EC617C314BC8F13F8F008D17A20DA2CF7B3B7A10C0E415A)
[分享]止水铜片安装大样图资料下载
图片尺寸549x438
cn207582517u_一种用于大体积混凝土的止水铜片防水结构有效
图片尺寸1603x1662
止水铜片的设计大样图-【重庆香银有色金属有限公司】
图片尺寸1047x711
新闻梨树区{隧说公用中间弧形止水铜片今日弯销价格 新闻梨树
图片尺寸1920x1080
欢迎访问-红河铜止水实业集团/-红河/集团
图片尺寸636x632![[分享]止水铜片安装大样图资料免费下载](https://imgs.wantubizhi.com/img/735A5D1F980B52A636CC46F12F2D1A7340A766FF8E758E9BE4DE6F0812B78C708D28106522CE2EFF50700D37CDB5BED9906CE60FA71D35C2FBC35B79C0F0CFF860548217558EBE283CD86E545AEF73F04D36115569B056B07E8A9F9BCDA5D1EF)
[分享]止水铜片安装大样图资料免费下载
图片尺寸560x420
隧洞衬砌的铜片止水片(单位延长米)是怎么计算的?
图片尺寸388x227
底板止水带大样图
图片尺寸686x560
止水带大样图立即下载立即下载内容简介 本图为铜片止水带安装大样图
图片尺寸560x489![[分享]止水铜片安装大样图资料免费下载](https://imgs.wantubizhi.com/img/ADDA3C5D760C6828B77B505A29D43E837FA832A4FE66060DC6D566850ED704DEDF8817A13EDEC72E64132F684ABD2DB77D3ECC26D6D436646487CB892F1B98212EA3B5B2C525A9157F4F208BD09E0635AE8AC73AC6AD48ECB874A717B983EE43)
[分享]止水铜片安装大样图资料免费下载
图片尺寸560x499
可卸止水变形缝资料下载-可卸及埋入式止水变形缝cad大样图
图片尺寸565x563
铜陵铜止水优惠降价
图片尺寸640x854
钢板止水带cad大样图
图片尺寸610x546