气胀轴内部结构图纸

气胀(涨)轴工作原理
图片尺寸610x402
一种用于高速复卷机收放卷的机械气胀轴
图片尺寸1466x971
leesun利迅键条式气胀轴1寸15寸2寸3寸4寸5寸6寸8寸10寸12寸
图片尺寸800x500
瓦片式气胀轴板条式气胀轴
图片尺寸312x282
一种气涨轴的制作方法
图片尺寸1000x406
滑差气胀轴原理:空气进入气囊内部造成空气膨胀,推动每一扭力组向外
图片尺寸662x787
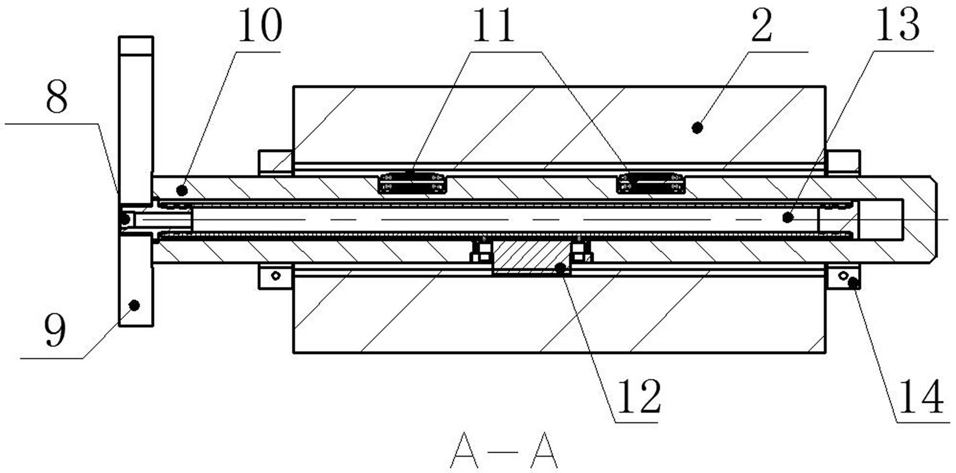
机的自动抽穿轴及适配结构,包括收卷机主体,收卷机主体上设置有气胀轴
图片尺寸2887x1733
一种机械式气涨轴的制作方法
图片尺寸518x424
机械式气涨轴 - 轴及轴承图纸 - 沐风网
图片尺寸820x577
一种新型气胀轴结构-爱企查
图片尺寸1937x959
键条气胀轴
图片尺寸750x540
键式气胀轴(气涨轴)-台灵机电
图片尺寸602x416
单悬臂气胀轴
图片尺寸2480x3366
悬臂气胀轴
图片尺寸250x121
气胀轴1-12寸 键条式气涨轴 瓦片式气涨轴气胀套气涨套气胀鼓
图片尺寸790x601
供应气胀轴
图片尺寸580x373
键条式气压卷轴 气胀轴 来图定做 tian ji/天机
图片尺寸750x1050
键条式气胀轴图纸参数
图片尺寸1191x1684
jty型 气胀轴
图片尺寸700x741
链条式气胀轴键条式气涨轴安装操作方法
图片尺寸640x450