水环切粒机头结构图解

水下切粒机的制作方法
图片尺寸1000x590
一种切面自动贴合高效水环切粒机及其使用方法
图片尺寸1953x1388
sql950型水下切粒机的操作和维护
图片尺寸2044x1036
cn101489748a_水下切粒机失效
图片尺寸1773x2195
水中造粒机
图片尺寸576x226
cn2247086y_卧式水环热切粒机失效
图片尺寸800x643
具有高密封性的水环切粒机的制作方法
图片尺寸1000x811
冷切粒机头结构图说明
图片尺寸1681x1005
kzl系列快速整粒机
图片尺寸462x414
hqp150混凝土切割机构造及原理
图片尺寸904x1280
一种塑料切粒机的制作方法
图片尺寸961x1000
改进型软料切粒机的制作方法
图片尺寸1000x499
一种挤出机水环切粒机的制作方法
图片尺寸443x394
一种具有塑料丝定位装置的塑料切粒机
图片尺寸996x1000
最新型双轴结构切割机专门为高效处理腐蚀性污泥而设计mono莫诺切割机
图片尺寸1131x878
一种塑胶壳粒水切造粒机的制作方法
图片尺寸1000x690
塑料颗粒切粒机的制作方法
图片尺寸717x1000
一种塑料切粒机的制作方法
图片尺寸781x1000
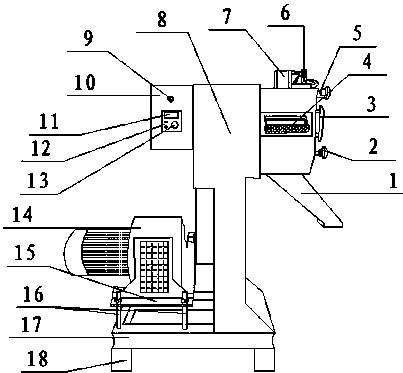
本发明公开了一种高精度切粒机,其结构包括塑料胶粒出口,操作按钮
图片尺寸403x373
一种全自动水下切粒机组的制作方法
图片尺寸1000x559