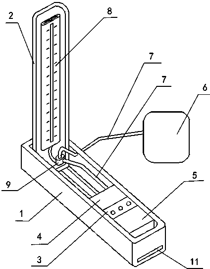
水银血压计结构

水银柱式血压计计量检定的方法
图片尺寸374x374
为什么水银血压计不让用了?因为不准吗?
图片尺寸640x390
高清图解如何使用水银血压计测血压doc
图片尺寸860x1216
鱼跃台式血压计 水银血压计 上臂测量 医用手动家用血压表
图片尺寸790x829
发明了水银式血压计,(sciopione riva rocci)意大利人希皮奥内·里瓦
图片尺寸369x412
厂家直销鱼跃a型套餐家用血压计 台式水银汞柱血压计立式血压计
图片尺寸750x1414
含听诊器台式家用精准上臂式血压计水银血压机血压表测量仪水银血压计
图片尺寸750x738
鱼跃水银血压计台式血压仪 家用手动测量血压器
图片尺寸790x781
背景技术:水银血压计是血压计的一种,是主要构造为水银的血压计,测量
图片尺寸788x1000
鱼跃牌水银血压计汞柱量血压仪器听诊器套装保健盒a型
图片尺寸790x960
请问水银血压计结构和工作原理?
图片尺寸958x720
鱼跃水银血压计台式血压仪 手动测量血压器 家用医用上臂式测压表
图片尺寸790x854
鱼跃水银血压计家用台式血压仪器老人臂式手动测量血压医用血压仪
图片尺寸800x800
台式血压计 鱼跃水银血压计 家用水银台式血压仪 臂式血压计
图片尺寸735x453
鱼跃台式水银血压计 医院家用手动水银血压计
图片尺寸750x600
鱼跃水银血压计 水银血压计 听诊器
图片尺寸791x1804
鱼跃 台式血压计 新包装水银血压计7893
图片尺寸790x574
封闭式无汞血压计制造技术
图片尺寸666x1000
一种智能化电子水银血压计
图片尺寸424x542
鱼跃 台式水银血压计(保健盒a型)
图片尺寸910x1047