汽提

汽提mvr组合工艺
图片尺寸800x1066
四建顺利完成天津石化炼油脱硫化氢汽提塔吊装
图片尺寸407x700
创举直播课为塔器技改把脉问诊67
图片尺寸489x649
汽提塔的作用及原理是什么?
图片尺寸270x335
提前30天!榆能化填平补齐工程甲醇净化装置氮气汽提塔吊装完成
图片尺寸601x802
新型催化裂化高效汽提器
图片尺寸900x600
汽提重沸器失效分析
图片尺寸920x690
塔器类压力容器
图片尺寸462x656
对汽提塔的基本要求:⑴塔内气,液体进入气提管内
图片尺寸400x533
中石化金陵分公司污水汽提污水罐5#化学清洗_南京南炼
图片尺寸816x669
ssc应力腐蚀试验|hic测试|金相分析|cma/cnas资质认证_无锡力博
图片尺寸910x607
炼油厂模型 原油勘探润滑油成品模型_工艺_装置_包括
图片尺寸5906x2953
>> 文章内容 >> 【2017年环保师基础知识汽提法】
图片尺寸324x269
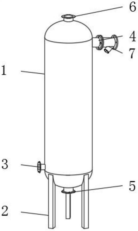
摘要附图摘要本实用新型公开了一种三元乙丙橡胶汽提
图片尺寸480x800
处理二手精制棉汽提机,犁刀式气提机价格公司:梁山
图片尺寸750x750
产品描述:废水汽提塔在线订购上一个:vcm回收塔,二
图片尺寸1920x887
定制实验精馏塔共沸精馏塔萃取精馏塔反应精馏塔混酸汽提塔
图片尺寸1440x1919
石油化工酸性水汽提装置酸性水罐应力腐蚀开裂原因石油
图片尺寸700x525
蒸馏汽提装置_废油再利用,废油回收处理设备,废油再生
图片尺寸700x304
汽提装置
图片尺寸1280x718