汽车遥控钥匙原理图

奥迪q5高级钥匙无法使用遥控器距离短
图片尺寸1768x1637
【维修案例】君越遥控钥匙车内启动无反应_搜狐汽车_搜狐网
图片尺寸799x735
cn203573476u_一种遥控式汽车钥匙接收端系统及电路有效
图片尺寸1000x748
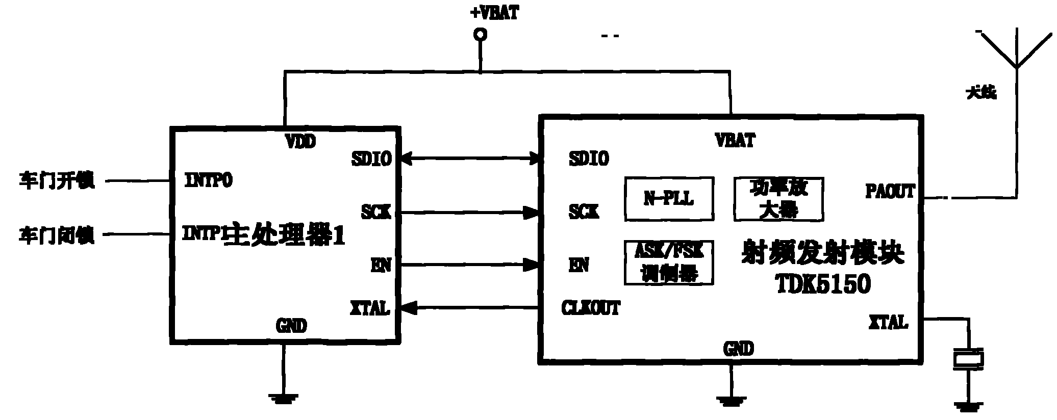
cn202012237u_智能遥控汽车钥匙失效
图片尺寸2072x824
典型汽车电子电路:钥匙模块电路图
图片尺寸1175x566![【图】[深度维修]关于车钥匙遥控器 懂集成电路的进_北京论坛_汽车之](https://imgs.wantubizhi.com/img/A1A61BAA66193547F3A6DD7D8EE527E9B85E7BA18E2CCA959B7FAE82FACAE4083C7CD480D9123FFC3DB53BBBB21DCEFD036542ECE6847E09C5C79FC38FA97D8333DC0AA3D10A3B93EABA756A0682CF4020DA8E170CDF65BE6797AD16C8CF54AC)
【图】[深度维修]关于车钥匙遥控器 懂集成电路的进_北京论坛_汽车之
图片尺寸400x243
本实用新型涉及汽车电子的技术领域具体的说涉及了一种汽车遥控钥匙
图片尺寸1000x518
cn203786795u_一种车用遥控钥匙及汽车有效
图片尺寸1000x676
一种带有提示功能的电动汽车遥控钥匙的制作方法与工艺
图片尺寸1000x965
东风悦达起亚狮跑原厂电路图 钥匙防盗系统及遥控系统
图片尺寸928x551
丰田皇冠智能钥匙遥控失效,丰田皇冠无钥匙进入失效
图片尺寸420x255
本田缤智车遥控钥匙无法锁车门_搜狐汽车_搜狐网
图片尺寸867x447
mfk285 keyless entrysystem 汽车遥控器遥控中控 汽车钥匙
图片尺寸600x420
比亚迪秦dm遥控钥匙不能灵活开启车门
图片尺寸886x712
一种使用方便的智能汽车钥匙制造技术
图片尺寸583x1000
轩逸智能钥匙单元控制原理图
图片尺寸640x430
钥匙遥控器和在它与机动车侧控制设备间交换信号的方法
图片尺寸2661x1107
遥控钥匙和汽车的制作方法
图片尺寸443x246
【图】13款奥迪q3钥匙无法拔出,无法启动,报通信故障【汽车资讯_好车
图片尺寸640x430
一种汽车电子钥匙的制作方法
图片尺寸1000x752