汽车门锁原理动画演示

了解汽车电子控制门锁
图片尺寸1114x537
汽车门锁原理,汽车门锁原理介绍
图片尺寸636x449
中控门锁的工作原理是将电能转化为机械能,用电动机带动齿轮转动来
图片尺寸933x517
中控门锁的结构和工作原理汽车车身电控技术
图片尺寸1016x768
浅析汽车门锁解锁力
图片尺寸822x483
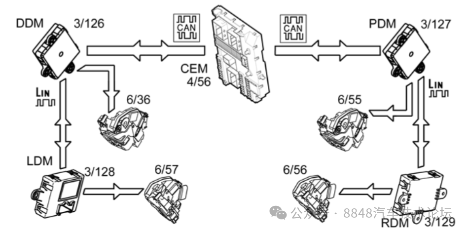
2016-2020年款沃尔沃车型中控门锁系统工作原理_搜狐汽车_搜狐网
图片尺寸954x715
汽车中控门锁到底有什么作用?如何实现一键锁门?了解门锁结构
图片尺寸932x609
车门锁系统基础知识ppt
图片尺寸800x600
车门锁原理设计
图片尺寸820x513
电动车门锁工作原理仅限借鉴
图片尺寸800x1132
2016-2020年款沃尔沃车型中控门锁系统工作原理_搜狐汽车_搜狐网
图片尺寸947x470
车门锁怎么开?看这里75_搜狐汽车_搜狐网
图片尺寸617x562
cn212507830u_一种用于乘用车的一体式车门锁
图片尺寸1904x1937
汽车门锁润滑脂对汽车门锁的作用及要求
图片尺寸450x286
充分考虑逃生需求 汽车门锁结构解析
图片尺寸640x427
2,懂得分析电动门锁控制系统的工作原理
图片尺寸1217x823
《老师傅维修秘籍》车门锁的更换自己也能搞定
图片尺寸1024x768
汽车车门是个结构比较复杂的部件,含有众多零件:门锁,玻璃升降器,喇叭
图片尺寸640x427
门锁锁 - 热门商品专区
图片尺寸598x283
超实用驾车手册 | 车门锁异响,到底发生了什么?
图片尺寸640x499