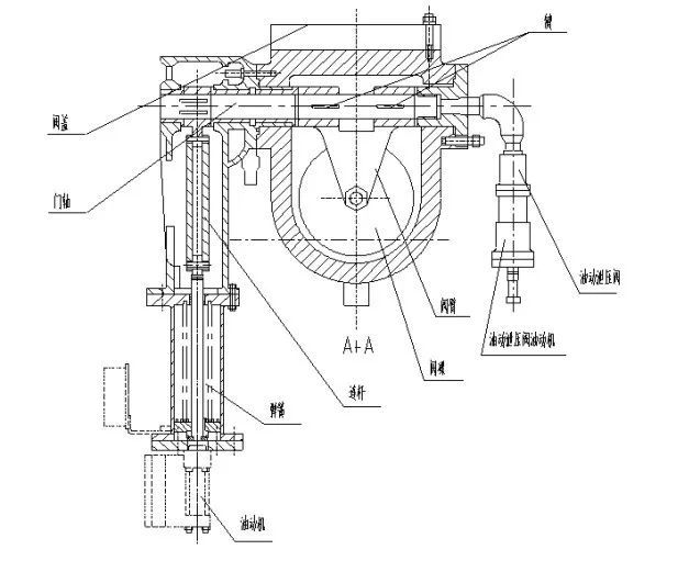
汽轮机调速汽门结构图

汽轮机主汽门与调门知识
图片尺寸640x478
汽轮机调速阀的错油门
图片尺寸949x695
一种用于汽轮机调节抽汽压力的内置式板型调节阀门
图片尺寸1369x1758
高调门结构实物图抽出阀座的主汽门阀芯实物图1,主汽门结构电厂汽轮机
图片尺寸640x479
汽轮机主汽门与调门知识
图片尺寸640x434
摘要附图摘要本发明属于应用于汽轮机的主汽门,具体涉及一种汽开式主
图片尺寸1717x1172
汽轮机主汽门与调门知识
图片尺寸627x529
气门总成结构图-康明斯柴油发电机组.png
图片尺寸600x375
汽轮机调速器结构说明
图片尺寸829x690
东汽改进型1030mw汽轮机汽门调试典型问题分析与处理
图片尺寸336x243
汽轮机主汽门,调节汽门典型问题汇总!
图片尺寸459x647
用于汽轮机主汽门的速关调节一体阀的制作方法
图片尺寸479x457
摘 要 针对汽轮机自动主汽门存在的问题,分别从设备结构,缺陷现象
图片尺寸1068x1190
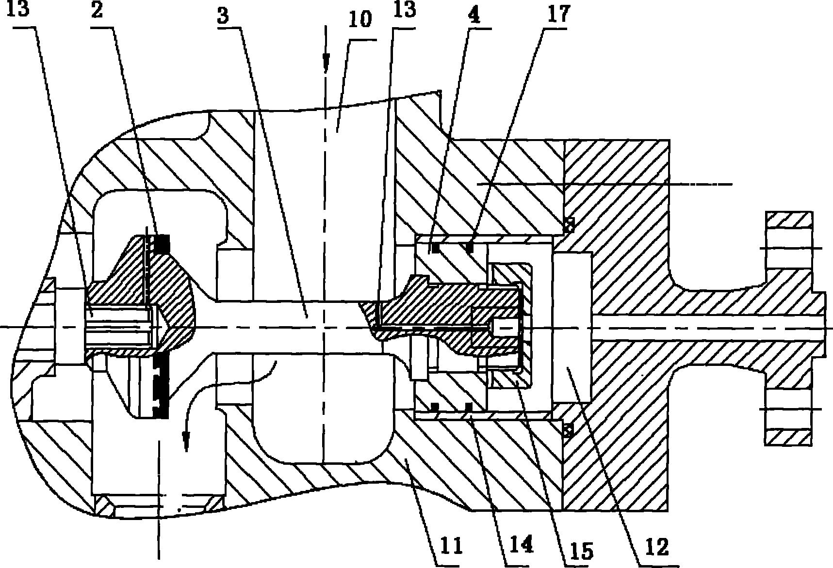
高中压主汽门调节汽门
图片尺寸627x521
高调门结构实物图抽出阀座的主汽门阀芯实物图1,主汽门结构电厂汽轮机
图片尺寸640x422
高中压主汽门调节汽门
图片尺寸575x355
汽轮机图片汽轮机,图片,汽轮机主汽门工作动画,汽轮机动图,汽轮机汽缸
图片尺寸963x724
一种汽轮机调节阀制造技术
图片尺寸435x1000
汽轮机调节气门电液执行机构示意图
图片尺寸301x418
600mw汽轮机再热主汽门轴向密封改造
图片尺寸700x400