油封压装

正确油封安装方法,方向以及安装工具有哪些?
图片尺寸640x456
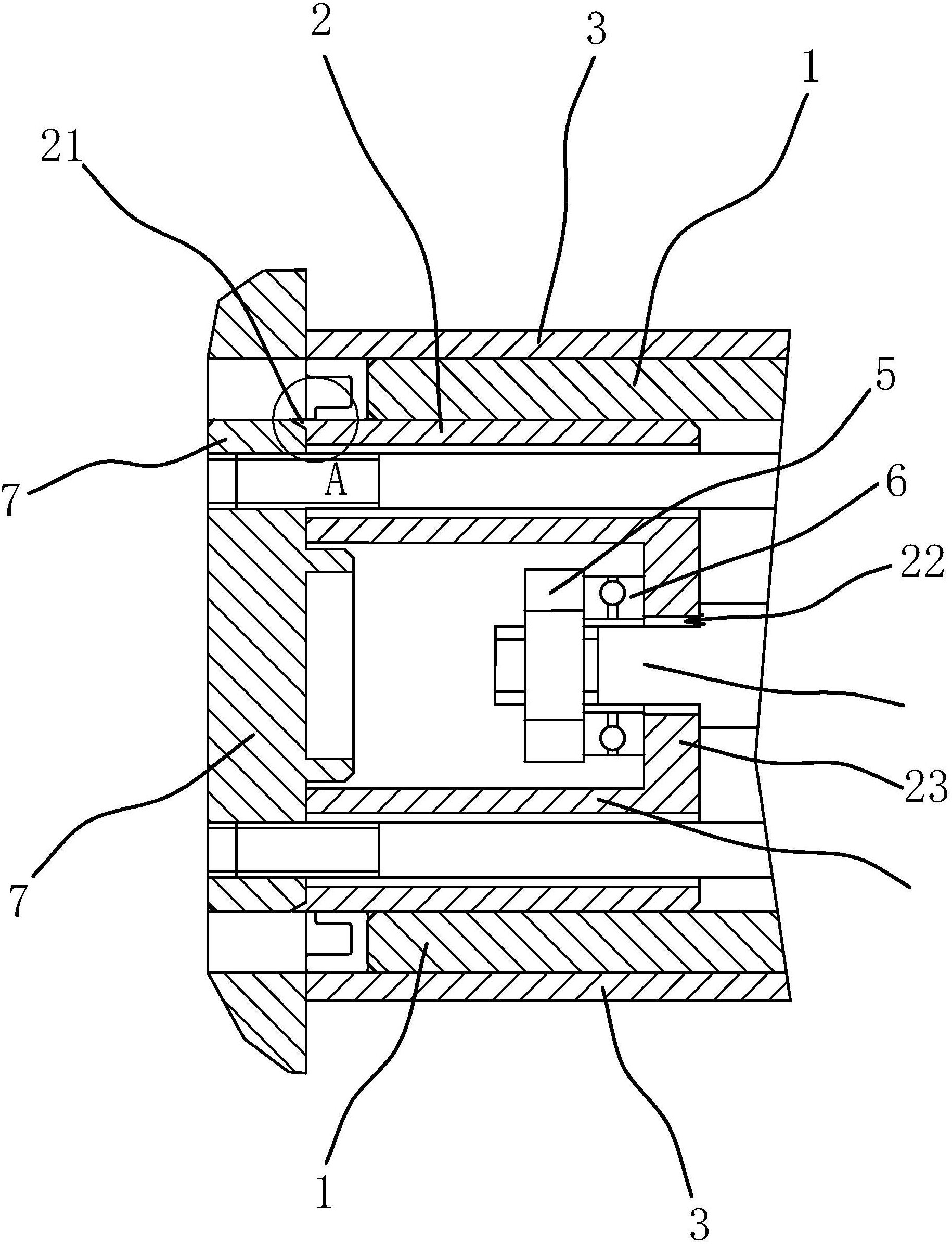
一种壳体油封压装装置及方法-爱企查
图片尺寸1701x1749
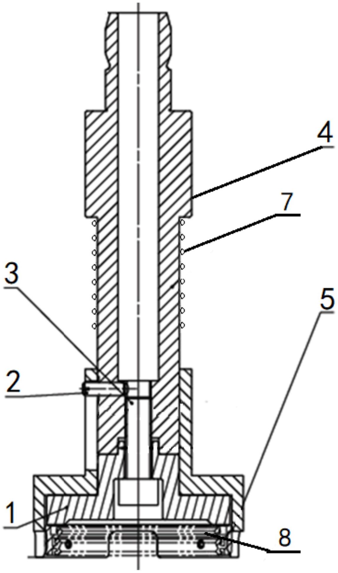
变速器一轴盖油封压装工具
图片尺寸1548x1739
苏州销售进口高压骨架油封厂家原装
图片尺寸800x800
h125主浆鼓内油封拆装工装350a93371700
图片尺寸867x618
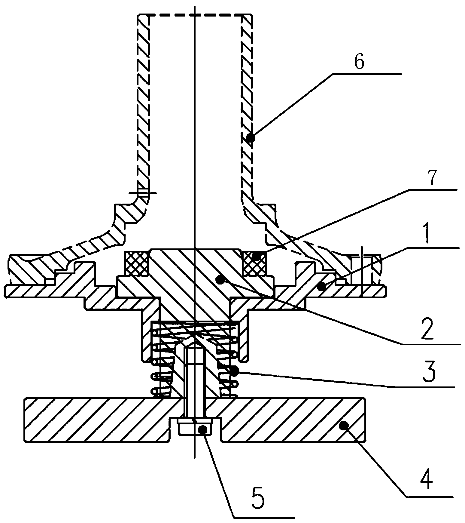
一种曲轴后油封的压装工装-爱企查
图片尺寸1830x2391
油封- 热门商品专区
图片尺寸960x720
液压自卸海沃油缸包油缸修理密封件自卸车油封置顶密封件
图片尺寸960x1280
空压机高压油封
图片尺寸900x900
油封很关键!(附设备密封知识大全资料)
图片尺寸422x678
液压油缸聚氨酯唇形油封剖分式油封开口油封
图片尺寸750x750
使用专用工具指南安装曲轴后油封.安装平衡轴和油泵.
图片尺寸640x317
滚筒轴承油封压装机
图片尺寸666x1000
主油封
图片尺寸1920x1920
骨架油封
图片尺寸437x438
弹夹式轴承油封自动压装装置-爱企查
图片尺寸1665x1917
发动机气门油封压装工艺改善——概念方案一
图片尺寸566x794
铁壳防尘油封安装图
图片尺寸640x508
批发汽车油封20*45*12/30骨架油封,质保两年
图片尺寸1080x1080
一种外定位油封压装装置-爱企查
图片尺寸1149x1950