油纸绝缘

008mm 电容器纸 绝缘材料 绝缘纸 吸油纸 超薄
图片尺寸867x560
许昌众诚 许昌众诚电工绝缘皱纹纸 皱纹绝缘纸系变压器油纸绝缘体系中
图片尺寸669x595
什么是油浸纸绝缘电缆?
图片尺寸365x491
大型电力变压器油纸绝缘老化评估诊断技术
图片尺寸1000x750
换流变压器油纸绝缘局部放电及电荷分布特性研究综述
图片尺寸1010x467
学术前沿:换流变压器阀侧套管油纸绝缘
图片尺寸640x324
措美转子绝缘纸质优价廉
图片尺寸600x400
07-6 10(6)kv油纸绝缘电缆接头制作质量管理
图片尺寸464x483
我国第一条大长度油纸绝缘海底电缆(07-12-20)
图片尺寸256x419
耐油/耐寒/耐温/耐磨线缆,塑料线缆,油纸力缆,塑料绝缘控制电缆,油浸
图片尺寸750x750
10(6)kv油纸绝缘电缆户内型终端头制作质量管理
图片尺寸794x1123
008mm 电容器纸 绝缘材料 绝缘纸 吸油纸 超薄
图片尺寸497x527
油纸绝缘套管作为目前电力系统应用最广泛的套管类型,因在运行时无法
图片尺寸640x640
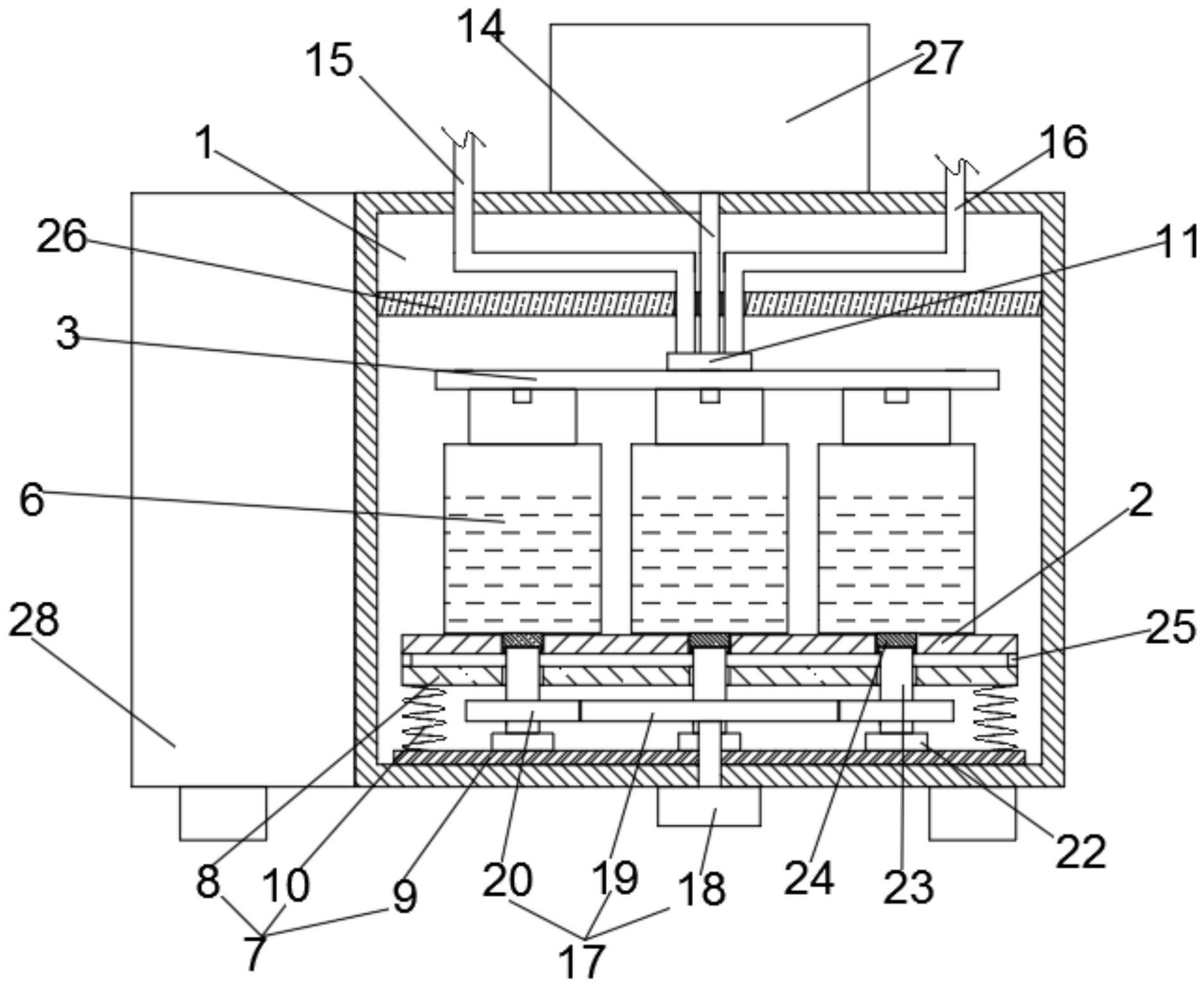
一种多物理场下油纸绝缘气泡生成模拟实验的装置与方法
图片尺寸580x271
铠装电缆厂优选企业 南洋电缆天津
图片尺寸600x400
油纸绝缘介电响应检测技术研究现状与发展
图片尺寸565x174
特高压换流变压器油纸绝缘交直流击穿特性及选型
图片尺寸409x419
水分对复合电场下油纸绝缘局部放电特性的影响
图片尺寸800x993
一种变压器油纸绝缘老化程度检测装置-爱企查
图片尺寸1875x1539
电子变压器的绝缘特性测量
图片尺寸640x640