油船结构

2000吨油船code:scm535
图片尺寸680x358
chongqing jiaotong university 油船横剖面 航海学院船舶与海洋
图片尺寸1080x810
小船是不行, 可 10 万吨的大油轮在海浪中还是会颠簸吗?
图片尺寸600x404
一种大吨位油船模型的制作方法
图片尺寸1000x465
船舶主要构件结构图_明天的明天_新浪博客
图片尺寸500x224
油船船型和结构特征
图片尺寸1899x1105
油船知识大放送
图片尺寸625x357
7万吨油船船体结构机舱货舱上建全船cad版
图片尺寸800x800
7000dwt成品油船施工cad图纸
图片尺寸820x1112
20000吨成品油船分段划分图外板展开图及结构图
图片尺寸1065x755
eships cobia号油船
图片尺寸900x692
大型油船结构直接设计计算方法研究论文pdf17页
图片尺寸792x1156
船体结构生产设计理念相关分析
图片尺寸948x715
37300 吨化学品油船 总图
图片尺寸800x600
船体结构2ppt
图片尺寸1080x810
浮式生产储油船
图片尺寸1696x711
105,000吨阿芙拉型油船结构优化设计
图片尺寸800x591
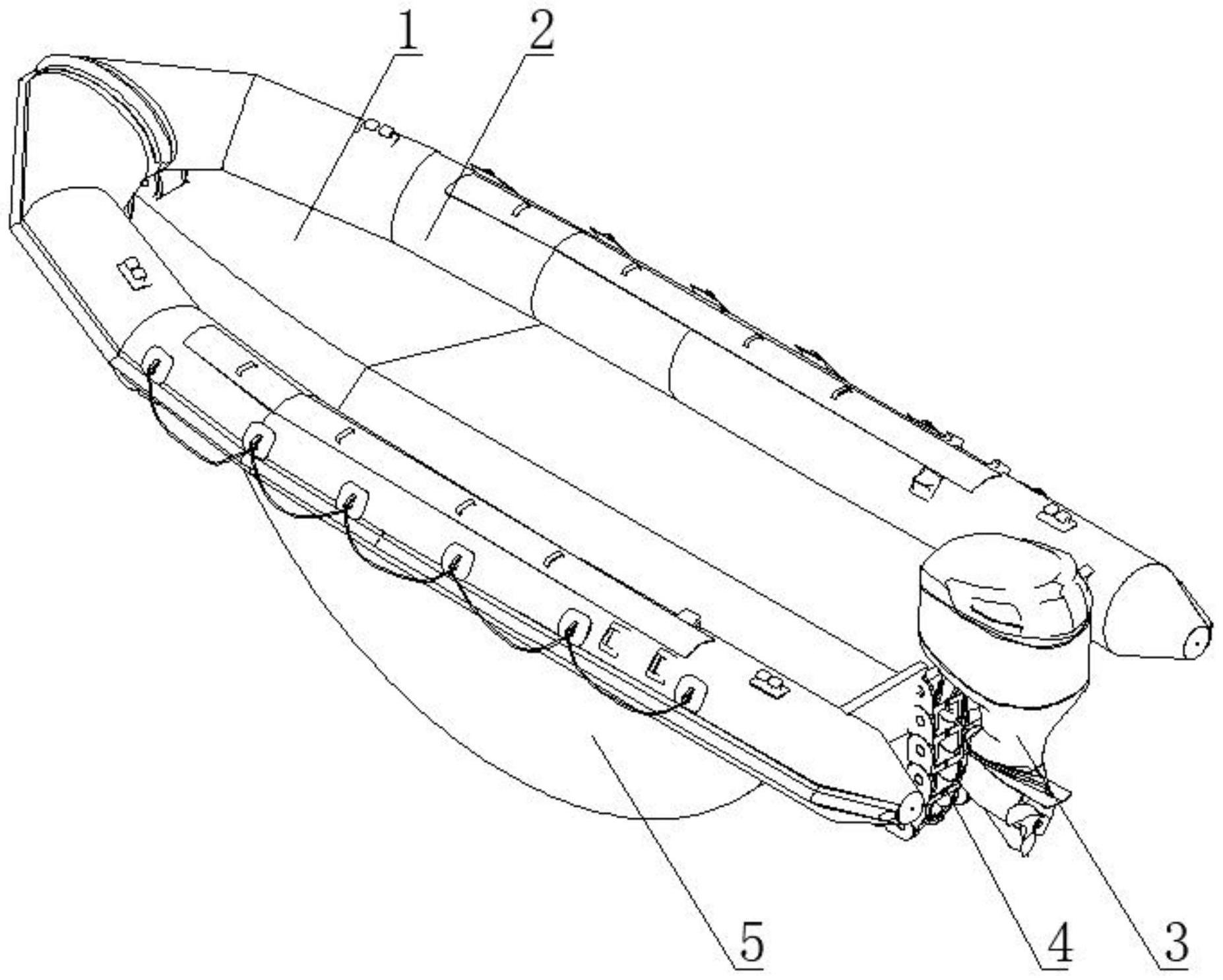
本发明涉及一种小型收油船,船身为平板结构,船身的轴向一端制为锥形
图片尺寸1854x1486
> 油船
图片尺寸1874x806
三视图看轮船结构以lpg船为例
图片尺寸831x720