泵车分动箱拆装图解

泵车分动箱的工作原理,及其相关维修和保养规程
图片尺寸1920x1080
分动箱拆解分析说明书
图片尺寸920x1303
混凝土泵车分动箱 臂架泵车分动箱
图片尺寸388x440
分动箱
图片尺寸700x933
大端泵车配件 分动箱 上市品质
图片尺寸798x718
分动箱的构造图
图片尺寸827x679
五.分动箱
图片尺寸594x358
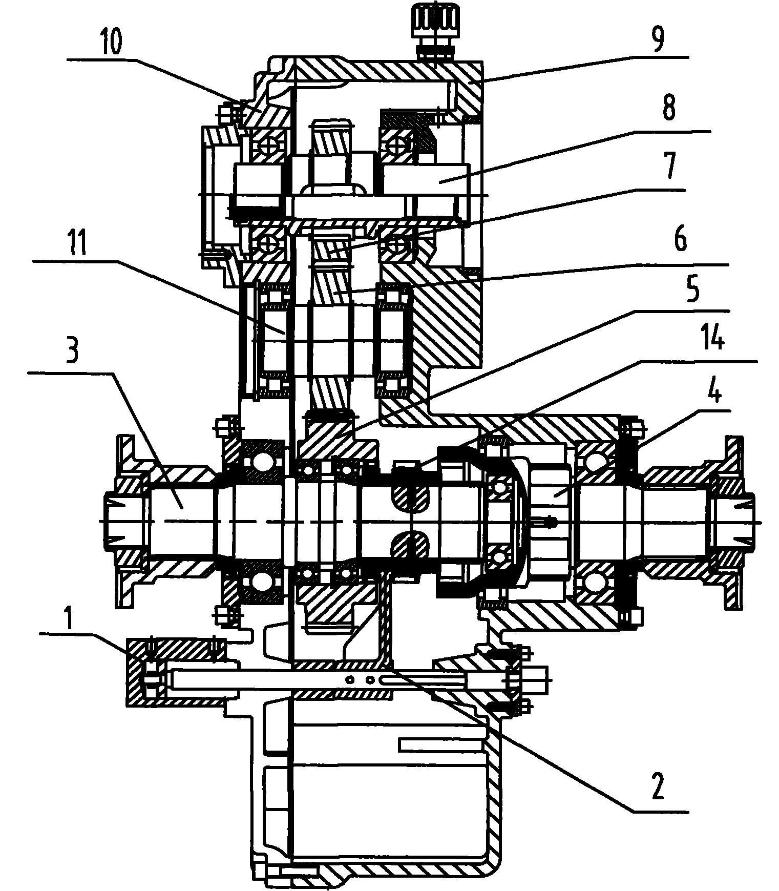
一种泵车分动箱-爱企查
图片尺寸1521x1739
泵车分动箱的工作原理,及其相关维修和保养规程
图片尺寸1056x621
一种两驱四驱切换分动箱总成的制作方法
图片尺寸984x1000
这样改分动箱来提速是否可行?
图片尺寸1433x856
niva分动箱结构图
图片尺寸480x544
三一泵车自制分动箱
图片尺寸982x1280
东风eq2080分动器
图片尺寸820x565
分动箱
图片尺寸717x568
维修大象进口分动箱
图片尺寸700x932
泵车分动箱的工作原理,及其相关维修和保养规程
图片尺寸1000x606
臂架泵车分动箱-爱企查
图片尺寸593x799
臂架式泵车用分动箱挂板结构-爱企查
图片尺寸1854x1531
斯宝分动箱
图片尺寸960x1280