洗涤装置

全自动管刷在线清洗装置 在线胶球清洗装置 胶球清洗装置
图片尺寸1920x1280
胶球清洗装置
图片尺寸3264x2448
禹州机器人 旋杯 清洗装置-广州市仁鑫机电设备有限公司
图片尺寸1080x1080
贝特全自动胶球清洗装置空调循环水处理器冷凝器胶球在线清洗装置
图片尺寸800x800
全自动胶球在线清洗装置集中发球美国wsa
图片尺寸465x600
pp洗涤塔装置
图片尺寸1920x2560
无洗衣粉循环用水智能洗涤装置(2)
图片尺寸1064x591
胶球清洗装置,凝汽器胶球清洗装置
图片尺寸504x240
pp洗涤塔装置
图片尺寸563x496
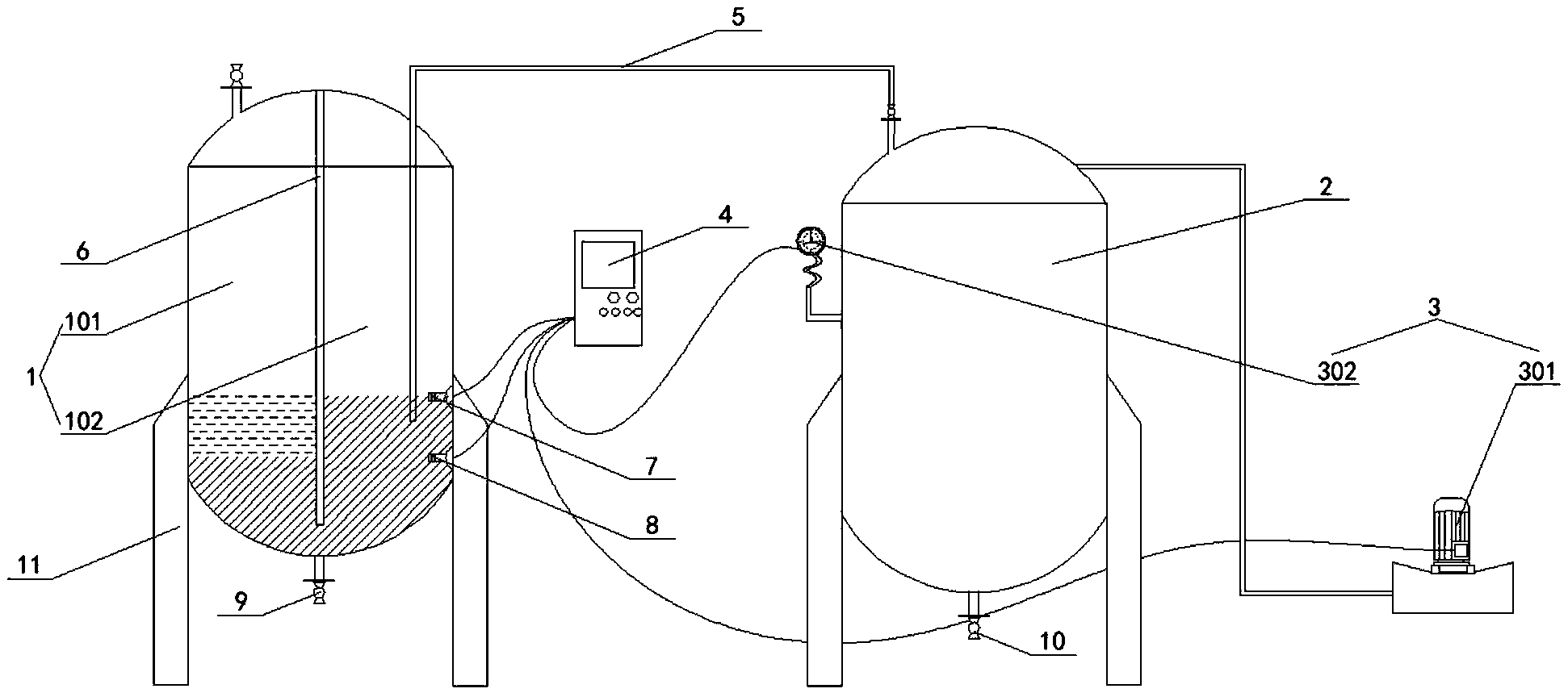
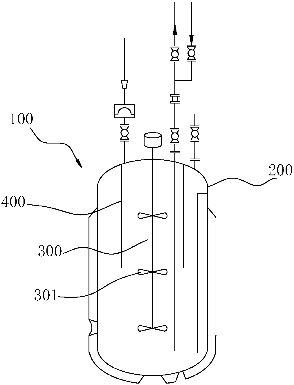
cn212669802u_洗涤装置有效
图片尺寸1605x2040
全自动器皿清洗装置清洗pfa溶样罐15ml等
图片尺寸1280x1280
一种有机萃取液皂化洗涤装置
图片尺寸308x443
5ml进样瓶洗涤装置 清洗盒 不锈钢花洒 清洗装置 洗涤套装100个孔
图片尺寸800x800
苏州gm-pp洗涤塔 工业废气处理洗涤装置
图片尺寸571x653
一种液相物料连续洗涤装置
图片尺寸1942x864
eqb冷凝器全自动管刷在线清洗装置 换热器刷式自动清洗提升效率
图片尺寸1263x1300
连云港胶球清洗装置现货供应,发货快
图片尺寸750x750
无洗衣粉循环用水智能洗涤装置(2)
图片尺寸948x798
物化全程水处理器沛德青岛胶球清洗装置
图片尺寸312x360
一种液体洗涤装置
图片尺寸1013x1328