活页结构

采用「榫卯」及「竹简」智慧结构,3d精工活页本环扣,解决大容量活页本
图片尺寸1080x1439
cn2122055u_一种活页影集失效
图片尺寸800x523
采用「榫卯」及「竹简」智慧结构,3d精工活页本环扣,解决大容量活页本
图片尺寸1080x1439
一种便于教学页与任务页分离的活页教材的制作方法
图片尺寸1000x920
50mm活页结构图
图片尺寸820x340
cn2291481y_隐藏式活页之新型结构失效
图片尺寸573x960
一种活页笔记簿
图片尺寸1695x1607
采用「榫卯」及「竹简」智慧结构,3d精工活页本环扣,解决大容量活页本
图片尺寸1080x1439
采用「榫卯」及「竹简」智慧结构,3d精工活页本环扣,解决大容量活页本
图片尺寸1080x1439
炜之兴 门窗合页铰链平开活页定做批发定制铁折页厂家4寸铁合页
图片尺寸800x800
50mm活页结构图
图片尺寸380x522
一种多功能活页装订环的制作方法
图片尺寸1000x993
移动电源拉链记事本 u盘商务电子活页笔记本 活页电源笔记本
图片尺寸1920x1594
活页本外壳a5b5磨砂活页金属夹 a6活页手帐本可拆卸6孔活页笔记本
图片尺寸790x1248
cn201058534y_用于保持活页纸的环机构失效
图片尺寸2255x1524
中国大陆首发……采用「榫卯」及「竹简」智慧结构,3d精工活页本环扣
图片尺寸1080x1439
可调节转矩之活页结构
图片尺寸360x224
(2)构造原理示意图 自主探究 精要解读 实验探究 活页规范训练
图片尺寸1080x810
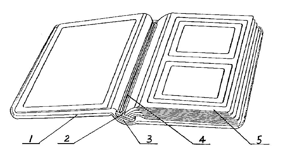
活页轴支座由基片,挡边和隔片构成,该活页相册结构简单
图片尺寸935x531
丝绸印花笔记本u盘移动电源笔记本充电宝记事本a5商务活页笔记本
图片尺寸1920x1563