浮动机构

想的一种浮动机构,#机械加工 #自动化设备 #匠心制作 #原创作品
图片尺寸864x486
浮动机构示意图
图片尺寸582x483
浮动支撑装置
图片尺寸1743x1926
浮动举升机构
图片尺寸678x616
浮动定位机构
图片尺寸487x565
夹紧浮动机构
图片尺寸1070x792
一种柔性浮动机构的制作方法
图片尺寸1000x897
xy方向 角度浮动机构图纸合集的封面图
图片尺寸285x273
浮动抛光机构
图片尺寸1456x800
浮动机构
图片尺寸820x633
万向浮动举升机构
图片尺寸794x585
xy浮动机构
图片尺寸433x511
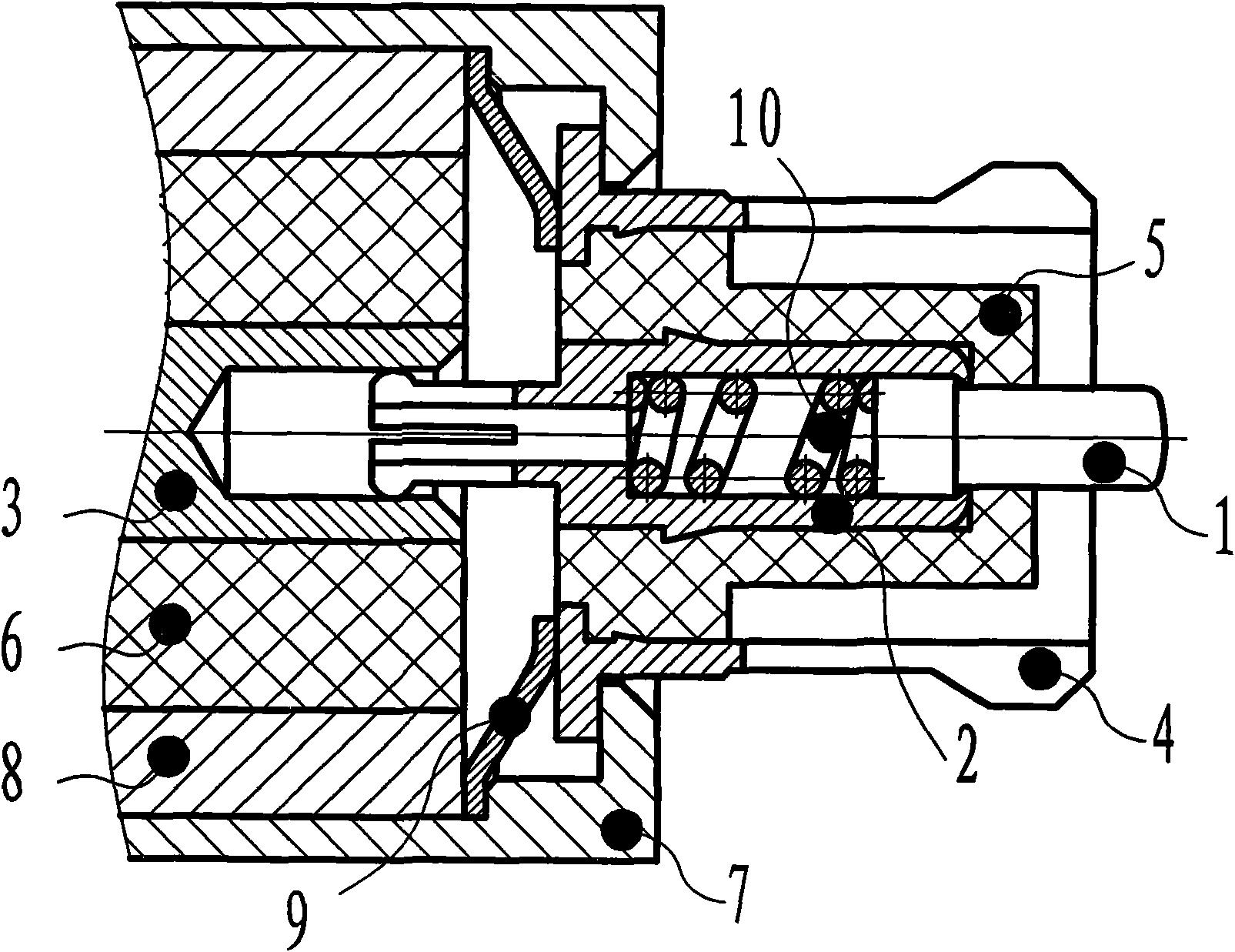
摘要附图摘要本实用新型涉及一种连接器的浮动机构,其能够使连接器自
图片尺寸1605x1237
螺丝枪p头浮动导向链接机构
图片尺寸717x613
多向调节浮动张紧机构
图片尺寸812x749
浮动机构
图片尺寸663x497
一种打磨机器人主轴浮动机构
图片尺寸1323x977
浮动结构
图片尺寸779x732
在水平面浮动的机构,有没有
图片尺寸622x468
轴测图一种浮动机构,其包括固定座;浮动板;置物平台;支撑架,设置于
图片尺寸428x518