浮球开关结构图

液位浮球开关
图片尺寸606x384
厂家直销侧装式浮球液位开关侧装型浮子水位油位控制报警器开关
图片尺寸1920x819
p data-id="gnbk9puh9z">浮球开关是一种结构简单,使用方便的液位
图片尺寸513x205
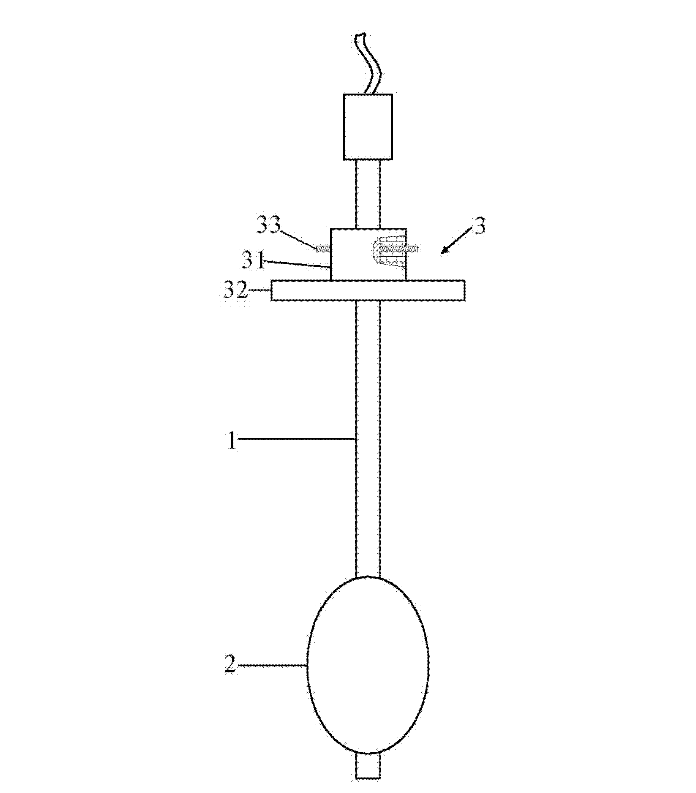
械式浮球液位开关结构图
图片尺寸401x276
进口浮球液位控制器.美国knke科恩科品牌的进口浮球液位控制 - 抖音
图片尺寸800x1065
浮球液位开关安装方法浮球液位开关安装视频2022已更新今日热点
图片尺寸474x284
电缆式浮球开关 全自动水泵浮球液位控制器 浮球开关 水位控制器
图片尺寸750x684
uqk-80系列 浮球液位开关
图片尺寸362x310
浮球液位开关2018208708604
图片尺寸2344x2670
电缆浮球液位开关
图片尺寸2481x3367
卫生型连杆浮球开关
图片尺寸800x1161
防爆浮球液位开关-天津市比利科技发展有限公司
图片尺寸327x400
厂家批发 浮球液位开关 水位控制器 uqk-m 3米电缆式浮球开关
图片尺寸675x275
稳压遥控浮球阀-爱企查
图片尺寸2041x1619
水质监测sd347浮球液位开关工作原理(图2)
图片尺寸727x1091
机械式浮球液位开关的相关研究
图片尺寸226x283
dks3001小型浮球液位开关直装式
图片尺寸348x325
遥控浮球阀结构
图片尺寸874x550
万特弗浮球开关液位开关液位继电器水位控制器粗铜线水塔水箱线长20米
图片尺寸790x550
304/316不锈钢浮球液位控制器fykg 耐高温防腐水银浮球开关uqk-97
图片尺寸750x972