涡流管制冷器简单制作

vair涡流管 高性能不锈钢涡旋致冷管 涡旋制冷器 旋风制冷器
图片尺寸790x1000
x技术 最新专利 制冷或冷却;气体的液化或固化装置的制造及其应用技术
图片尺寸1000x451
图16 涡流管结构及工作过程示意图1—进气管 2—喷嘴 3—涡流室 4
图片尺寸987x468
用于冷藏箱的涡流管co2双级压缩制冷系统的制作方法
图片尺寸465x258
一种逆流型涡流管式微型制冷器的制作方法
图片尺寸1000x449
隔热套涡流管铝合金涡旋管制制冷器机箱冷却器冷风其他气动工具
图片尺寸800x800
涡流管制冷
图片尺寸3543x2480
供应瑞钛克ruitaike深圳plc机柜冷却器涡流管制冷器机箱冷却器
图片尺寸306x309
一种逆流型涡流管式微型制冷器的制作方法
图片尺寸1000x312
供应冷却枪 冷却器 涡流冷却枪
图片尺寸670x256
airste 涡流管 涡流管制冷 冷气降温 零下-50度快速降温
图片尺寸1920x1441
涡流管,一根神器的制冷管子.实物拆解看下结构
图片尺寸1728x1080
涡旋制冷管 vair标准s型涡流管制冷器气动涡旋冷却管涡流制冷管旋涡
图片尺寸790x1184
涡流管冷却器涡旋管制冷器压缩空气冷却棒装置不锈钢铝制冷风枪 带磁
图片尺寸746x464
包括可压缩气囊和用于制冷的涡流管,可压缩气囊上设有带单向阀的
图片尺寸1984x2745
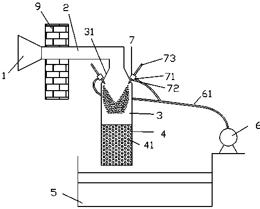
cn106765374a_一种利用涡流管冷冻处理油烟的装置及处理方法失效
图片尺寸516x415
一种用于机械加工气冷的涡流管制冷器的制作方法
图片尺寸1000x566
涡流管制冷ppt
图片尺寸1080x810
涡流管制冷到底是怎么制冷的
图片尺寸1080x745
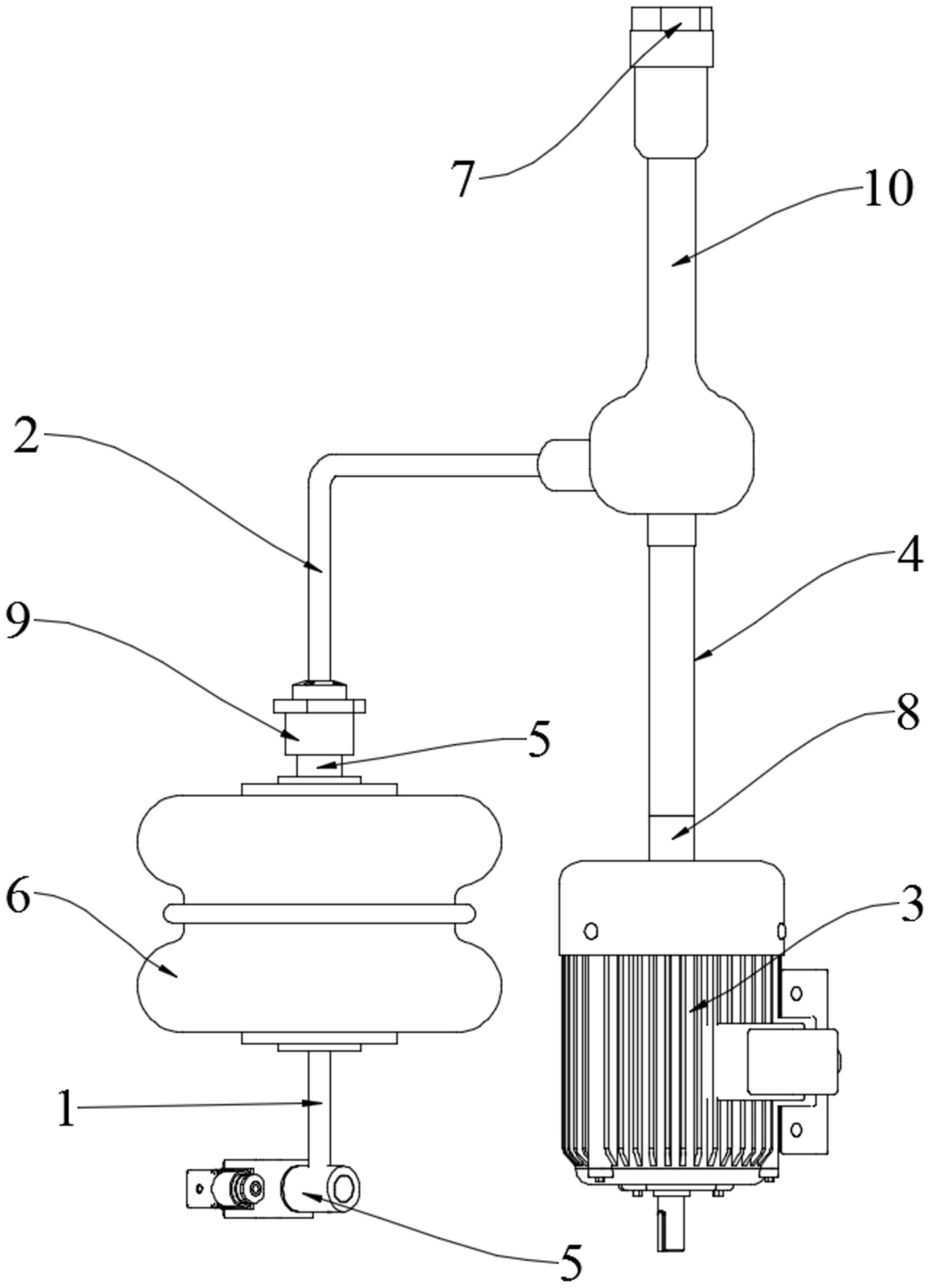
一种液氮循环冷却涡流管高效制冷系统
图片尺寸942x986