涡街流量计内部构造图

基于涡街流量传感器高精度液体旋涡流量计
图片尺寸495x637
一种温压补偿涡街流量计
图片尺寸1857x2389
燃气涡轮流量计工作原理结构结构剖面图
图片尺寸726x515
横河涡街流量计安装方法
图片尺寸718x417
lugb压电式涡街流量计
图片尺寸556x617
ak-lugb-涡街流量计 智能数显防爆型
图片尺寸1240x704
流量计 简便 fmvt200型涡街流量计
图片尺寸526x531
涡街流量计常见故障分析与处理
图片尺寸509x504
涡轮流量计原理选型安装与维护
图片尺寸454x302
智能型涡轮流量计
图片尺寸1150x587
智能涡街流量计结构图
图片尺寸257x367
采用什么样的安装方式才能够有效地提高涡轮流量计测量精度
图片尺寸544x460
涡轮流量计特性影响因素分析-西安仕乐克涡街流量计厂
图片尺寸399x453
详细介绍涡街流量计的结构性能和原理
图片尺寸431x375
tx-lwq系列气体涡轮流量计产品介绍以及基本参数
图片尺寸1596x959
lugb-j涡街流量流量计
图片尺寸325x398
【仪表大发明】之涡街流量计
图片尺寸472x561
柱塞式计量缸在燃油涡轮流量计校准中应用
图片尺寸373x355
气体涡轮流量计产品结构与工作原理
图片尺寸665x396
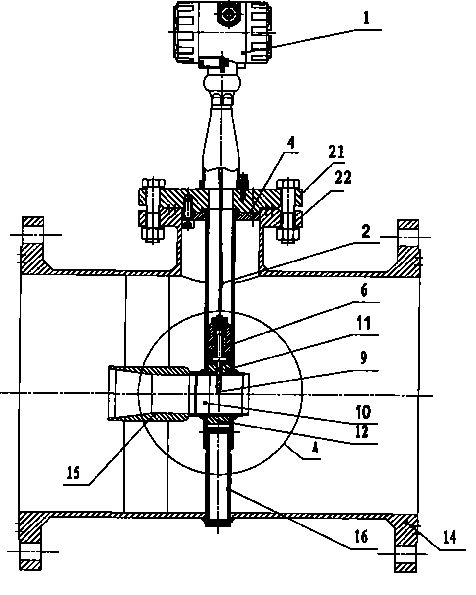
cn101334302b_大口径磁电涡街流量计有效
图片尺寸972x1215