液压卡盘工作原理动画

液压卡盘结构图(以三爪卡盘为例)液压卡盘工作原理演示▼时长01:52,请
图片尺寸492x310
数控车床手动卡盘改液压卡盘方案,液压卡盘多少钱?
图片尺寸1024x724
不同卡盘夹紧力,转速的同台对比
图片尺寸720x415
三爪卡盘夹紧原理是什么(轻轻一推就能夹紧,气动三爪卡盘是什么原理?
图片尺寸400x226
4爪液压卡盘
图片尺寸530x435
非标型法兰安装液压卡盘
图片尺寸981x927
液压卡盘结构图(以三爪卡盘为例)液压卡盘工作原理演示▼时长01:52,请
图片尺寸300x232
液压卡盘的安装方法步骤
图片尺寸750x401
液压卡盘的准备安装调试工作指南
图片尺寸488x395
液压卡盘结构及工作原理
图片尺寸893x414
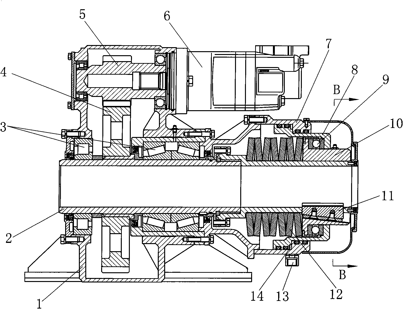
图3-5 液压卡盘结构示意图
图片尺寸1697x828
台湾千岛卡盘cd-21dp三爪中实油压夹头
图片尺寸750x274
液压卡盘结构及工作原理
图片尺寸344x366
cn101693301b_夹紧力多级可调的液压动力卡盘有效
图片尺寸2039x1341
液压三爪卡盘
图片尺寸530x328
蛣2 液压驱动的夹紧卡盘带有压力表,内孔直径为70mm,可用于铣削(a),且
图片尺寸400x174
供应ja525前置式气动卡盘大通孔卡盘配副爪夹头厂价直销
图片尺寸1024x861
谁能给我发张液压三爪卡盘的的零件图(cad),要2个视图的
图片尺寸791x510
钻机液压卡盘
图片尺寸1701x1304
车床液压卡盘
图片尺寸530x348