液封装置

化工设备原理动画-液封装置演示(翻录)
图片尺寸1440x900
课件答案ppt 实验室气体的制备 ③液封法 如图丁,检验此装置气密性
图片尺寸1080x810
摘 要 化学实验装置的安全性是保证试验成功的关键,高考题实验考查中
图片尺寸216x308
水封整体装置
图片尺寸800x600
一种尾气液封装置
图片尺寸1959x1895
过滤设备-乙二醇液封槽
图片尺寸800x600
危化液体储罐氮封装置设计选型
图片尺寸2976x2976
项目集锦结构原理水封罐原理3d展示
图片尺寸900x564
液压密封知识-基础篇
图片尺寸640x260
无头除氧器水封请问这个水封,以及怎么注水,原理,液封
图片尺寸2592x1944
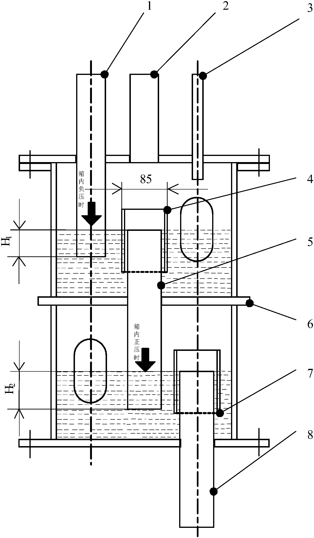
cn109279669a_液封装置在审
图片尺寸1332x2277
长颈漏斗加液时,漏斗颈伸入液面下,起液封作用,防
图片尺寸401x482
可燃液体的储罐氮封阀门改进方案
图片尺寸1080x2244
矿物化学分析用液封漏斗装置的制作方法
图片尺寸779x1000
化工装置中液封的设置(doc 13页).doc_第5页
图片尺寸920x1302
摘 要 化学实验装置的安全性是保证试验成功的关键,高考题实验考查中
图片尺寸407x314
物理化学装置的制造及其应用技术
图片尺寸222x335
105个化工设备的工作原理动画演示
图片尺寸868x623
yfna50-0液封装置
图片尺寸734x539
导热油液封装置
图片尺寸640x480