混流式水轮机动画

混流式水轮机
图片尺寸288x355
能源清洁大坝水电风汽轮机
图片尺寸700x700
直观│3d动画演示水轮机发电原理
图片尺寸320x180
制造业皇冠上的明珠,水轮发电机,最大容量可达80万千瓦!
图片尺寸824x430
混流式水轮机的设计.ppt
图片尺寸1152x864
混流式三维图
图片尺寸585x650
水轮机构造
图片尺寸627x554
混流式水轮机
图片尺寸700x449
水泵发电机插图图片素材
图片尺寸359x300
水轮机gif
图片尺寸1154x650
水轮机概述
图片尺寸640x480
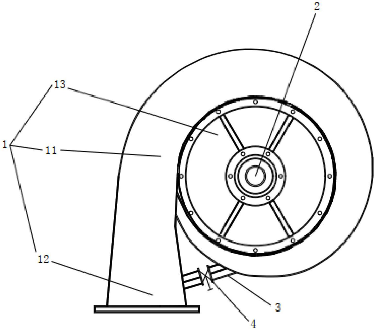
一种能量回收型混流式水轮机-爱企查
图片尺寸1551x1363
水电站水轮机的主要类型和工作原理
图片尺寸880x871
混流式三维图
图片尺寸556x650
2-cell crossflow turbine
图片尺寸414x333
水力发电机如何工作的78秒带你看完其原理3d动画全方位展示
图片尺寸1157x650
混流式水轮机安装
图片尺寸1280x800
水轮发电机水轮水轮机价格/迷你水轮机/微型水轮发电机出售
图片尺寸990x596
电动水轮机
图片尺寸820x508
混流式水泵水轮机旋转动画67
图片尺寸640x470