添纱组织

添纱组织-纺织技术中心 - 纺机网_www.ttmn.com
图片尺寸304x246
添纱针织🎆
图片尺寸960x1280
针织大圆机常用14种织物组织结构 - 灯芯绒面料网
图片尺寸600x224
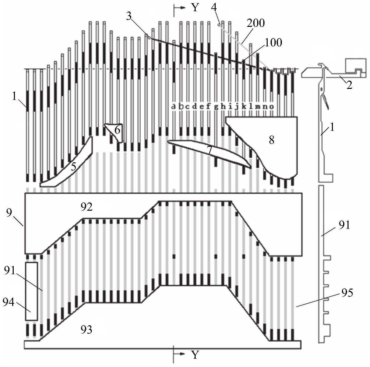
添纱组织编织工艺,编织机构以及地纱浮线添纱组织-爱企查
图片尺寸1515x1503
2019/20秋冬男士针织趋势预测:不羁 - 趋势预测 - 服装资讯 - 东纺服
图片尺寸633x471
一种空气层针织布添纱双层织法及其添纱织物结构专利_专利查询 - 天眼
图片尺寸467x312
【针织组织结构】3-四平凸条|圆筒|添纱|绞花
图片尺寸1080x1441
【针织组织结构】添纱组织
图片尺寸640x853
编织图样
图片尺寸1080x1149
cvoidcl (@cvcl@baraag.net) - 🔞 baraag.net
图片尺寸1153x1000
3_纬编花色组织与圆机编织工艺(提花_集圈_添纱)1ppt_word文档在线阅
图片尺寸1080x810
布博士丨除了经编,蕾丝还有哪些织造方法?-搜狐
图片尺寸1080x398
针织物常用名词术语及对应图例
图片尺寸640x283
针织老板快看:2019秋冬男士针织趋势预测——不羁!_纺织快报-www.168t
图片尺寸663x402
针织老板快看:2019秋冬男士针织趋势预测——不羁!
图片尺寸880x653
实物面料上海纱线展免费素材图片-图行天下图库
图片尺寸1024x1365
一种针织纬编添纱衬垫面纱提花织物及其织造方法与流程
图片尺寸530x250
cutaneous actinomycosis | nejm
图片尺寸1800x1355
锐性清创联合重组牛碱性成纤维细胞生长因子凝胶在慢性创面治疗中的应
图片尺寸576x465
压疮分期及处理ppt_word文档在线阅读与下载_无忧文档
图片尺寸1080x810