渗井构造

渗井污染:中国未来将无地下水可用!危害到底有多大?
图片尺寸508x419
砖砌渗井图
图片尺寸700x500
510排水工程之渗井,定额,清单均没有相关项怎么办?
图片尺寸640x736
地下排污有三种类型:1,渗坑,渗井排放;2,浅井水层排放;3,高压深井排放
图片尺寸500x421
某渗水井大样图
图片尺寸560x459
沉井构造.png
图片尺寸760x665![[分享]渗井图集资料下载](https://imgs.wantubizhi.com/img/ADDA3C5D760C6828B77B505A29D43E8373547B8562E99FACD20093F17F7A5558A53D6FC1427D3779F07BDFA505E8A3CA9F8108F79BA7990953C396144075C97AF17C958CD18E93E1B16ADA957E773D37DDACC650D89FF848CA18D070E0345BE3)
[分享]渗井图集资料下载
图片尺寸886x653
渗井结构与布置实例
图片尺寸560x393
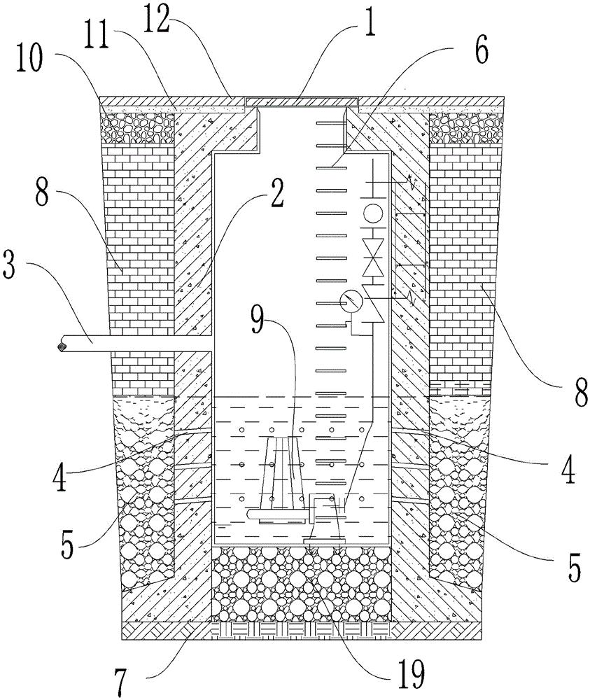
cn210263285u_海绵城市渗水井及车库排水装置有效
图片尺寸843x1000
雨水渗井的增加 基于leed铂金江示范街区的要求, 街区内的雨水必须
图片尺寸1080x810![[节点详图]块石砌渗井图](https://imgs.wantubizhi.com/img/ADDA3C5D760C6828B77B505A29D43E83967380C43A43530B630F7F5ED7754D084D69B5980868DBB325415D8CE748D7DF7387E5B3A179F87337D71443E32CBD9A9C6D551BD5286B938CF689F120E5B53100AAA979DEE12773A8601D1DAD63C071)
[节点详图]块石砌渗井图
图片尺寸872x643
【轻松备考】2020年二级建造师考试《公路工程》提分要点:渗井
图片尺寸624x677
一种适用于海绵城市建设的砂石渗井
图片尺寸1640x1620
牙克石市某市政渗水井构造图
图片尺寸850x619
分享农村渗水井做法资料下载
图片尺寸616x642
砖砌渗井图
图片尺寸648x473
渗排一体化系统
图片尺寸960x389
探讨:海绵城市 mark>雨水 /mark>渗井 mark>系统 /mark>建设关键问题
图片尺寸532x501
渗水井施工图
图片尺寸560x491
海绵城市渗管 渗渠 渗井cad详图-排水沟|电缆沟-构造详图/阳光房/车棚
图片尺寸818x488