溢水杯结构

karot玻璃杯带盖水瓶透明水杯 花茶杯柠檬杯
图片尺寸709x591
一种溢量一体溢水杯的制作方法
图片尺寸1000x973
(1)在使用溢水杯时,我们应该先向溢水杯中加水,直到水面
图片尺寸437x243
实验器材 弹簧测力计 溢水杯 水 小桶 配重砝码
图片尺寸1080x810
便携式多功能水杯的制作方法
图片尺寸465x1000
一种旋转式水杯的制作方法
图片尺寸585x1000
他选取了两块体积和形状都相同的实心铜块和铁块(已知铜的溢水杯
图片尺寸304x177
因为手镯形状是不规则的,建议你用溢水杯直接量出手镯体积,再算密度.
图片尺寸574x246
一种防溢水的饮水杯
图片尺寸1000x846
一种防溢水的纸杯的制作方法
图片尺寸429x443
一种水杯的制作方法
图片尺寸486x527
一种带有翻转扣的防漏水杯的制作方法
图片尺寸471x628
探究: 浮力的大小等于什么? 实验器材 弹簧测力计 物块 烧杯 溢水杯
图片尺寸1080x810
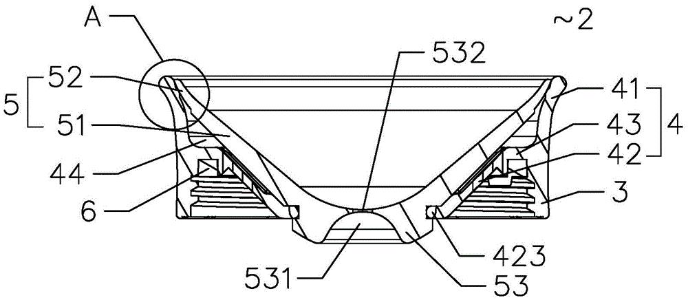
杯体结构的制作方法
图片尺寸569x1000
一种杯子制造技术
图片尺寸902x942
cn209106856u_一种防溢水的饮水杯有效
图片尺寸1000x436
一种防溢水饮水杯的制作方法
图片尺寸403x443
01m2轻质柱形溢水杯放置于台秤上,并在溢水杯内装入适量水.
图片尺寸820x1380
如图甲所示,将一个底面积为300cm2的薄壁柱形溢水杯置于水平桌面上
图片尺寸420x279
背景技术:在日常生活工作学习中,水杯是必不可少的用具,多用来盛水
图片尺寸1000x720