溢流装置

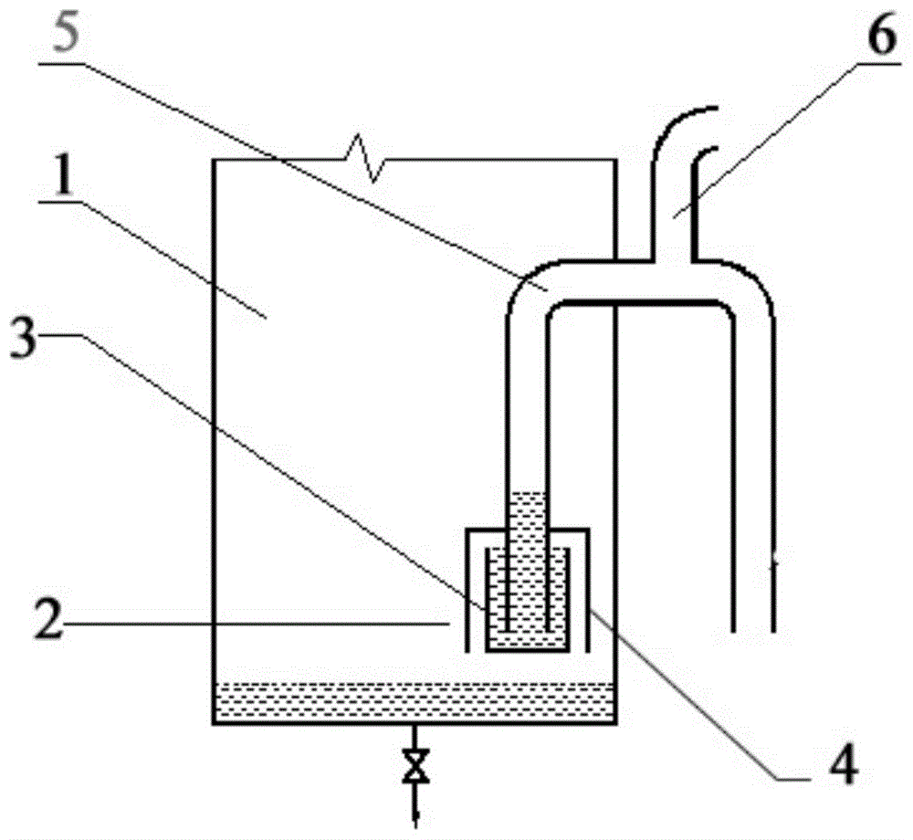
低温溢流水箱介绍:本仪器是适用于压实混合料密度试验的恒温溢流装置
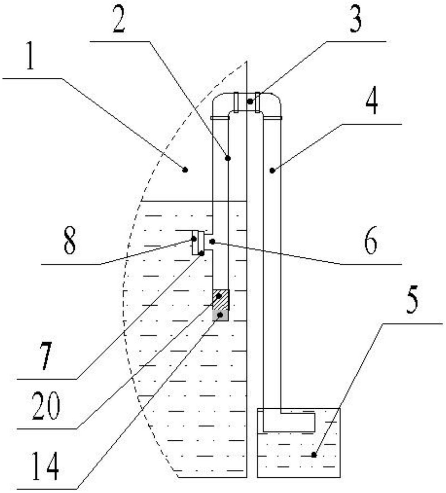
图片尺寸880x880![图 3 溢流法装置(改绘自文献[69])](https://imgs.wantubizhi.com/img/A1A61BAA66193547F3A6DD7D8EE527E98FC875A50C9F167C3C4C8CDE4CA2FD92362F9E9C84AE49DB94E99106B7B4E992BDA5BED5B9807582AA0C4B81BAA6498AEEF509D309473ABA3FF33B628725FEA50436257CD121F0A5E9EB093C6CF5650C)
图 3 溢流法装置(改绘自文献[69])
图片尺寸700x597
抗干扰能力强溢流保护装置
图片尺寸1200x1600
cf-c恒温溢流水箱恒温溢流装置
图片尺寸800x800
溢流装置及蓄水池
图片尺寸1228x1576
水池溢流装置
图片尺寸1499x1319
一种自液封的溢流装置的制作方法
图片尺寸1000x920
cn106013407a_溢流装置及蓄水池有效
图片尺寸1000x976
一种溢流装置及包含其的撇油罐的制作方法
图片尺寸1000x970
枣强县润和环保设备有限公司
图片尺寸1600x1200
一种自液封的溢流装置
图片尺寸1000x920
溢流阀保护装置-爱企查
图片尺寸1213x1081
一种新型外置式船舶水箱溢流报警装置
图片尺寸2024x1490
一种海绵式雨水花园溢流装置
图片尺寸1746x1002
溢流装置及蓄水池的制作方法
图片尺寸781x1000
一种液体溢流管的溢流报警装置
图片尺寸333x328
浆液罐的溢流装置-爱企查
图片尺寸1374x1223
鱼缸三重溢流管件套装配件亚克力鱼马桶上下水底滤四重溢流
图片尺寸800x800
cn211635994u_一种脱硫塔溢流装置
图片尺寸1434x1584
一种水泥仓水泥溢流装置-爱企查
图片尺寸800x588