滑动式模板

滑动模板高层建筑施工
图片尺寸800x600![[分享]滑动模板施工](https://imgs.wantubizhi.com/img/A1A61BAA66193547F3A6DD7D8EE527E9EF75F553C230880429E126E1D1685698D993E3C057B6332908C86B87079F11D80E47CBFC6EE45B851083DE1C559EF28D9644E639550C1E1AE6C59ADE5857EF324FC681032B140F5FA296A3B6FEAA9DDA)
[分享]滑动模板施工
图片尺寸924x594
滑动液压模板,滑动模板
图片尺寸400x262
细节介绍高架桥滑动式模板台车蓝江桥梁护栏模板台车混凝土设备
图片尺寸750x750
整体建筑-滑动模板.建设整体预制混凝土施工照片
图片尺寸450x300
细节介绍高架桥滑动式模板台车蓝江桥梁护栏模板台车混凝土设备
图片尺寸750x750
cn210031698u_溢流面混凝土滑动模板有效
图片尺寸1000x641
滑动模板工程技术标准理解与应用指南 建筑 科建
图片尺寸800x800
一种河道挡墙用滑动模板组件
图片尺寸2273x2164
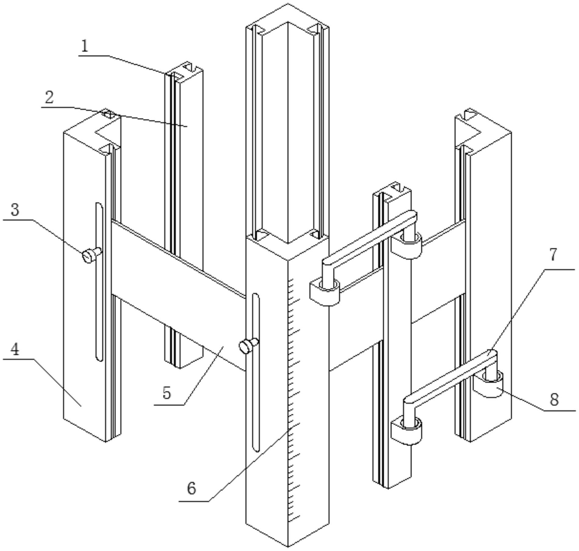
一种稳定性高的可滑动建筑模板
图片尺寸1897x1805
一种便捷式斜面滑动模板系统-爱企查
图片尺寸1630x1167![[讲义总结]滑动模板工程技术讲义136页](https://imgs.wantubizhi.com/img/735A5D1F980B52A636CC46F12F2D1A73E57EA5B6355C170D6429DBCEFE313283B4EDEFF1CB5237A9F7A182628E0345FCD4B385F556D65BE2388B84BEB17E29BA57E2D217C2772C3B22E8092B23FA564531F5220D8D1AA8F9DD10606BC7CD235A)
[讲义总结]滑动模板工程技术讲义136页
图片尺寸560x356
滑动模板工程技术讲义136页
图片尺寸560x459
滑动模板3.2要点.ppt
图片尺寸1152x864
滑动模板工程技术讲义136页
图片尺寸560x407
液压滑动模板在双薄壁高墩施工中的应用
图片尺寸1412x889
细节介绍高架桥滑动式模板台车蓝江桥梁护栏模板台车混凝土设备
图片尺寸750x750
模板体系:滑动模板,爬升模板 本资料为滑模,爬模,翻模施工
图片尺寸760x570
滑动模板在工程中的应用
图片尺寸1304x1962
供应高架桥滑动式模板台车桥梁公路防撞模板台车图片
图片尺寸900x900