滑枕

博斯曼机床国内首家研发推出复合型滑枕引领中国机床行业
图片尺寸1080x810
优化的龙门加工中心滑枕优化设计
图片尺寸1260x638
机床滑枕
图片尺寸670x502
龙门滑枕加工
图片尺寸800x500
龙门方滑枕结构加工中心
图片尺寸360x290
博斯曼机床国内首家研发推出复合型滑枕引领中国机床行业
图片尺寸1080x810
海天方滑枕龙门glu1830宁波海天龙门加工中心镇江销售业务员
图片尺寸1080x1440
龙门加工中心直联主轴滑枕组件
图片尺寸359x587
t型滑枕结构
图片尺寸433x478
滑枕卧式刀库a款
图片尺寸2600x2600
博斯曼机床国内首家研发推出复合型滑枕引领中国机床行业
图片尺寸1080x810
机床方滑枕结构
图片尺寸1632x812
数控落地铣镗床滑枕动态特性分析与研究
图片尺寸310x229
ca系列单刀架t型滑枕单柱立式车床
图片尺寸1440x1920
国盛龙门gmf3215国盛龙门加工中心主轴方滑枕高淳业务员维修
图片尺寸750x750
请教各位机械专业人士,下图中红圈里的具体结构,(龙门镗铣床的滑枕
图片尺寸1944x1636
一种卧式加工中心滑枕结构
图片尺寸1826x1463
hgmc系列方滑枕结构龙门加工中心
图片尺寸2000x2000
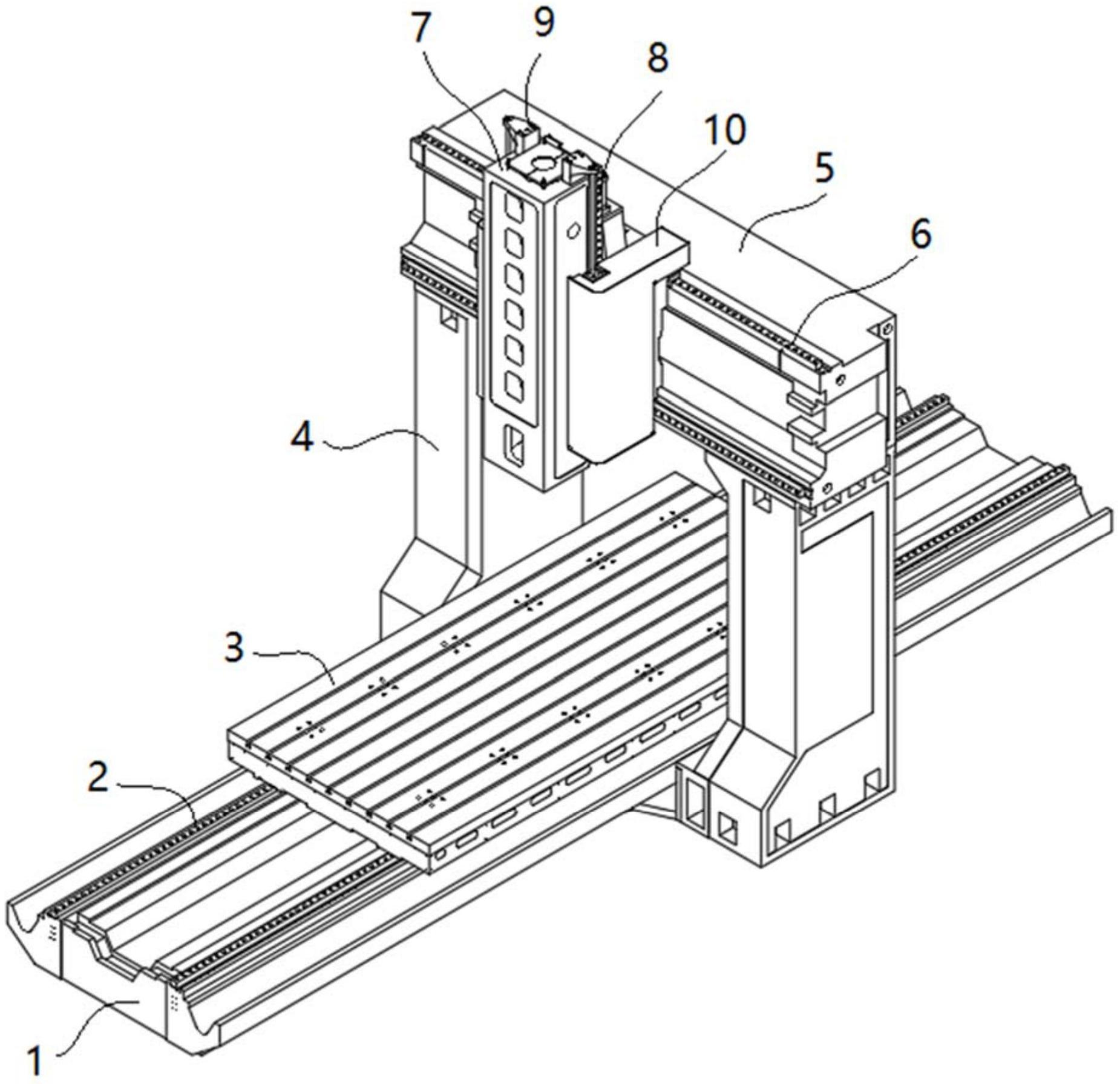
及其运动结构,包括机床床身,x轴线轨,工作台,立柱,横梁,y轴线轨和滑枕
图片尺寸1851x1791
lgmc系列t型滑枕结构
图片尺寸715x488